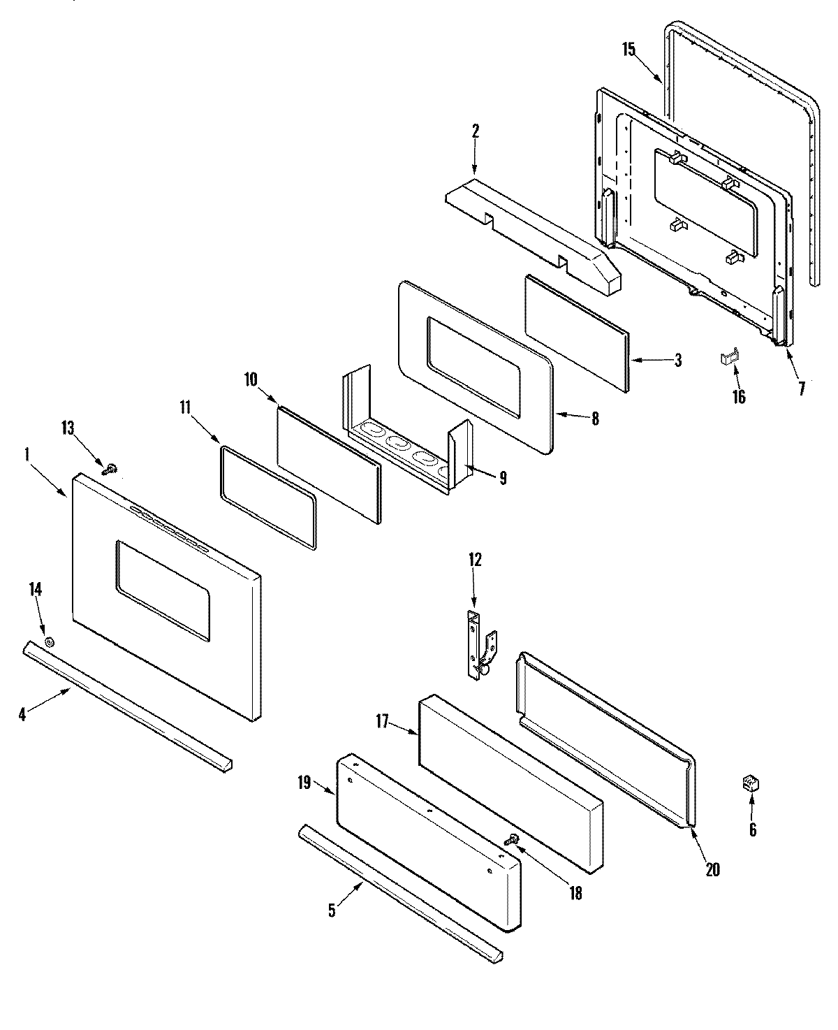
CBR1420BGW 03 – DOOR/DRAWERadmin2025-04-26T11:15:11+00:00CBR1420BGW 03 – DOOR/DRAWER ProductsPositionProduct1MAY 740053172MAY 740024583MAY 740024595WP2411F013-71 Whirlpool Door Handle6MAY 8016P015-607MAY 740050978MAY 7101P209-608MAY 740024619MAY 7400246210MAY 7400246411MAY 7201P017-6012MAY 7400239813WP3387230 Whirlpool Screw14WP74005058 Whirlpool Spacer Assembly15WP7212P043-60 Whirlpool Oven Door Seal Gasket16CLIP, DOOR17MAY 740018141874002481 Whirlpool Screw19MAY 7400172919SCREW20MAY 7400755320MAY 74002397