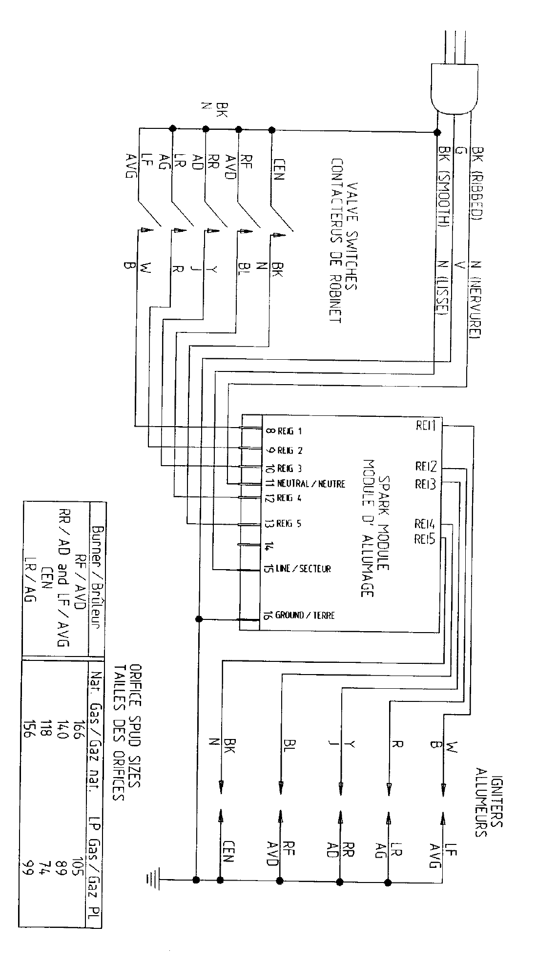
CCG2522B 03 – WIRING INFORMATIONadmin2025-04-26T11:13:42+00:00CCG2522B 03 – WIRING INFORMATION ProductsPositionProductNIMAY 15001824