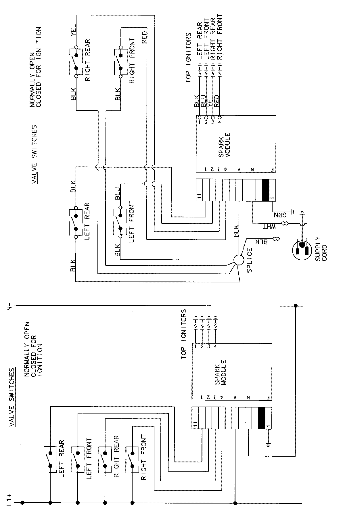
CCGP2420PF 04 – WIRING INFORMATIONadmin2025-04-26T11:12:03+00:00CCGP2420PF 04 – WIRING INFORMATION ProductsPositionProductNIMAY 15002409