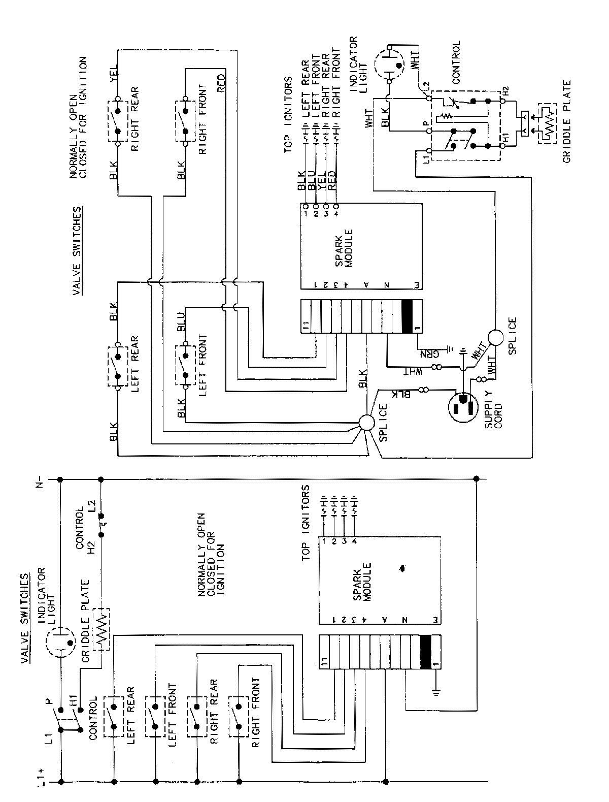
CCGP2720PK 04 – WIRING INFORMATIONadmin2025-04-26T11:12:57+00:00CCGP2720PK 04 – WIRING INFORMATION ProductsPositionProductNIMAY 15002411