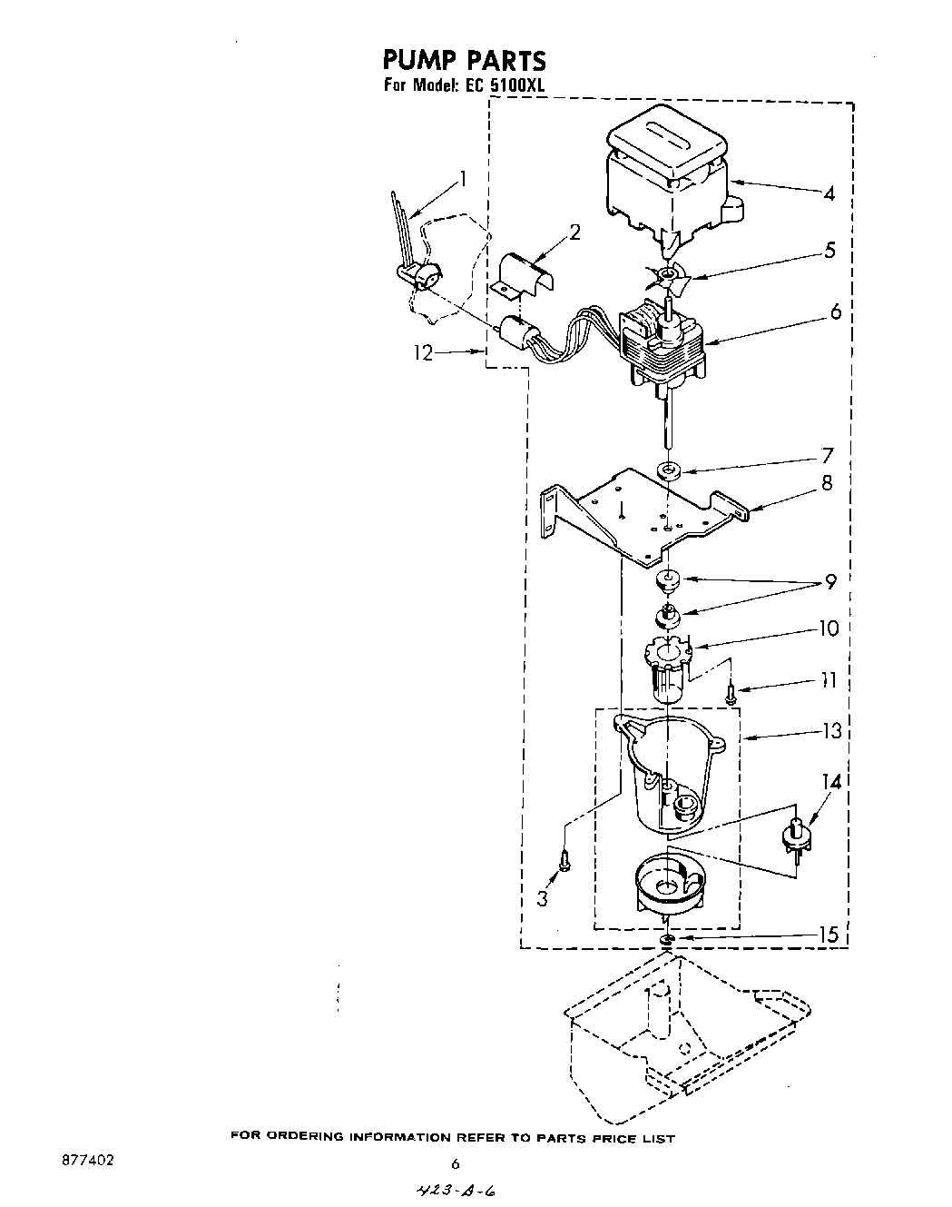
CCS51AEL 04 – PUMP