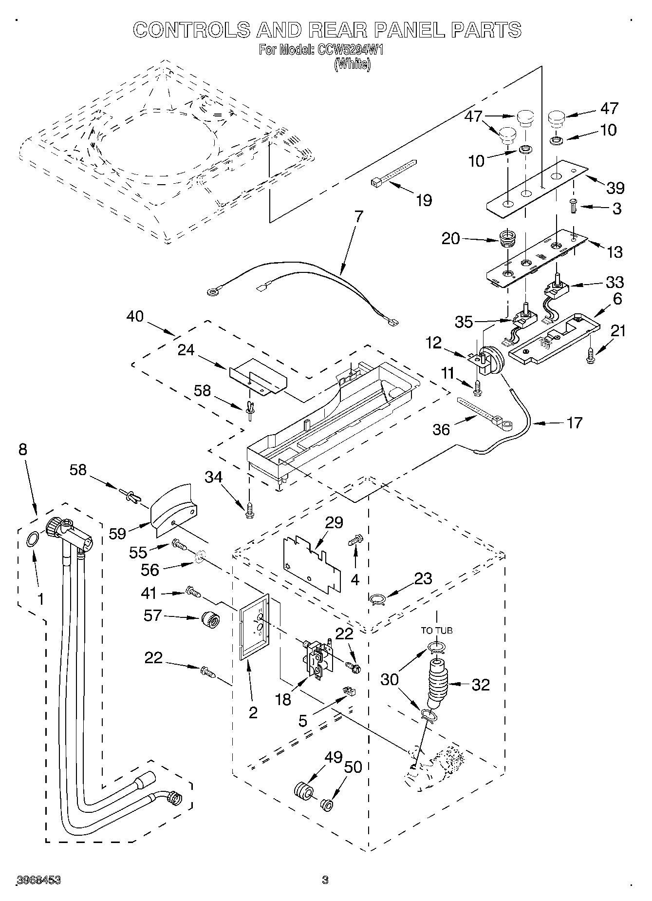
CCW5294W1 02 – CONTROLS AND REAR PANELadmin2025-04-26T12:15:50+00:00CCW5294W1 02 – CONTROLS AND REAR PANEL
Products
| Position | Product |
|---|
| 1 | WP16123 Whirlpool Washer |
| 2 | Bracket-Valve |
| 3 | Extension, Start-Pause |
| 4 | Screw, Console Cover (4) |
| 5 | Clip, Harness |
| 6 | Timer/Control Board |
| 7 | Jumper-Wire |
| 8 | W10849778 Whirlpool Hose Assembly |
| 10 | Seal |
| 11 | Screw, Switch Mtg. |
| 12 | Switch, Water Level |
| 13 | Bracket, Control (Must Order No. 3 & No. 39.) |
| 17 | Hose, Pressure Switch |
| 18 | Valve, Water Mixing |
| 20 | Seal, Pressure Switch |
| 21 | Screw, Control Board (3) |
| 22 | WP3400094 Whirlpool Screw |
| 23 | Clamp, Hose |
| 24 | Shield, Harness |
| 29 | Shield & Warning Water Valve |
| 30 | WP616099 Whirlpool Clamp |
| 32 | Hose, Pump To Tub |
| 33 | Switch, Cycle Selection |
| 34 | Screw |
| 35 | Switch, Water Temperature |
| 36 | WP2205813 Whirlpool Refrigerator Wire Tie |
| 39 | Panel, Console |
| 40 | Top, Shield Assy. |
| 41 | Screw |
| 47 | Knob, Temperature & Cycle Selection |
| 49 | Grommet, Pump |
| 50 | Spacer, Pump (3) |
| 55 | Screw, Pump Mtg. (2) |
| 56 | Washer |
| 57 | WP356054 Whirlpool Cap Assembly |
| 58 | Rivet |
| 59 | Bracket, Hose Storage |