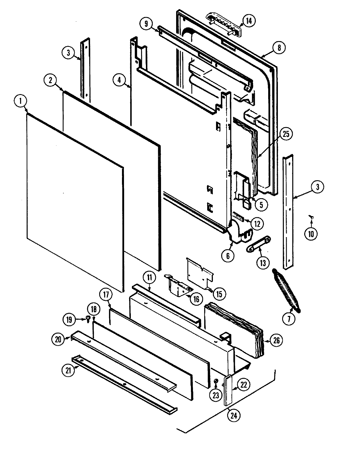
CDC5J 03 – DOOR