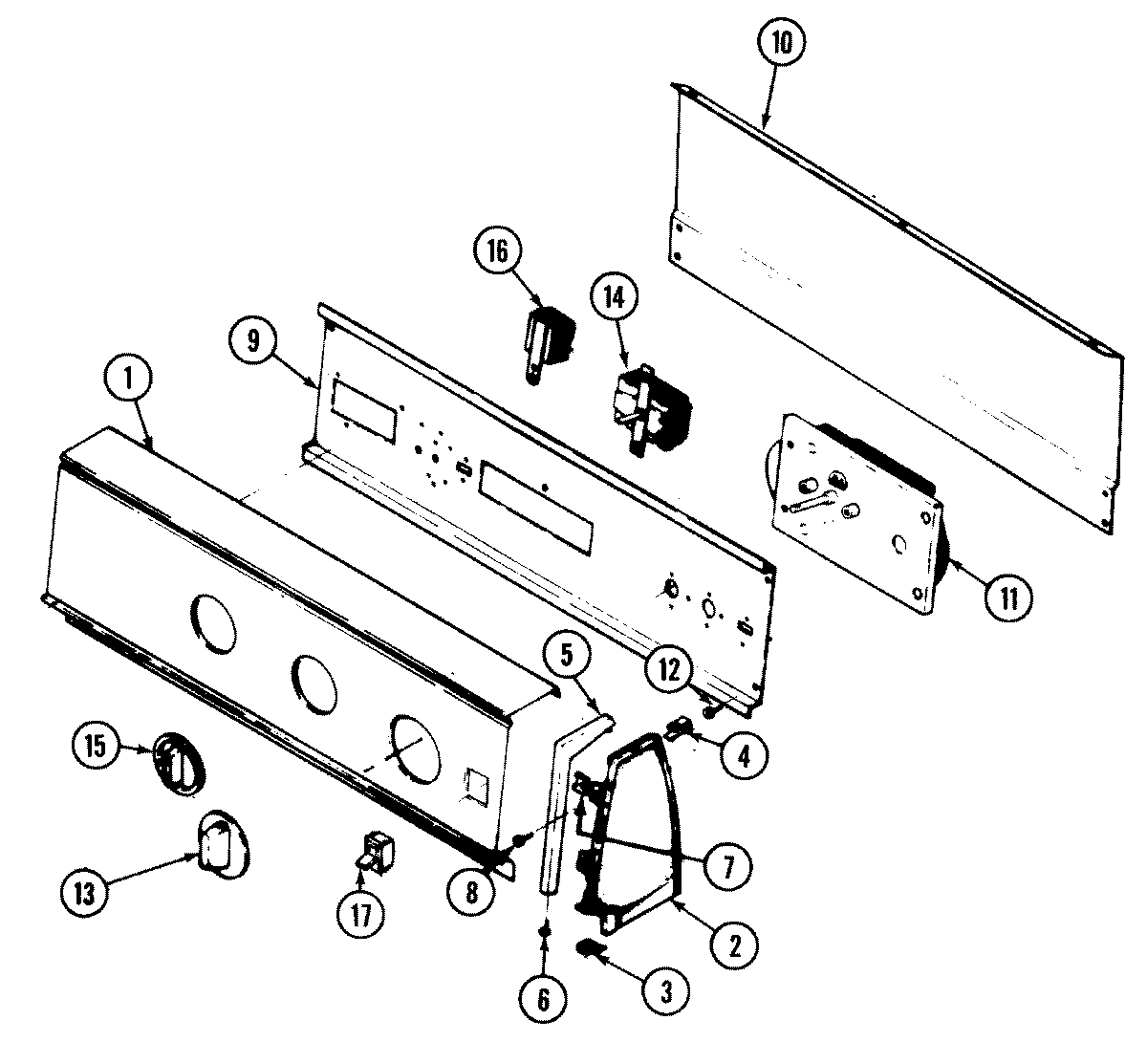
CDE20T8V 02 – CONTROL PANELadmin2025-04-26T11:13:03+00:00CDE20T8V 02 – CONTROL PANEL ProductsPositionProductNIMAY 31001044NIMAY 31001008NIMAY 160020801MAY 53-24792MAY 35-26682MAY 35-26692MAY 25-76972MAY 25-76493MAY 25-76913MAY 25-78514MAY 25-78525MAY 53-02775MAY 53-02786MAY 25-77607MAY 25-77029MAY 35-31909MAY 53-25049MAY 3100112810MAY 35-268811MAY 53-181611MAY 63-674312MAY 25-743513MAY 53-257514MAY 3100112914MAY 53-034415MAY 35-397516MAY 53-166616WP90767 Whirlpool Screw17MAY 21001902