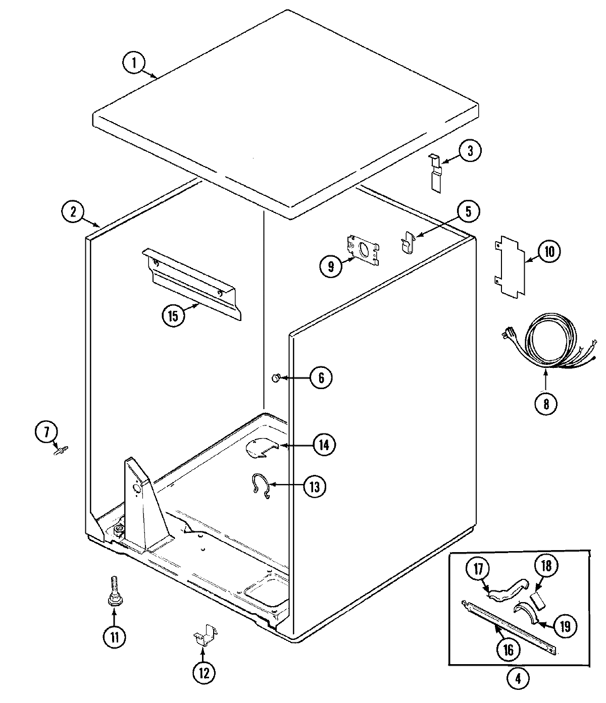
CDE6500W 01 – CABINET