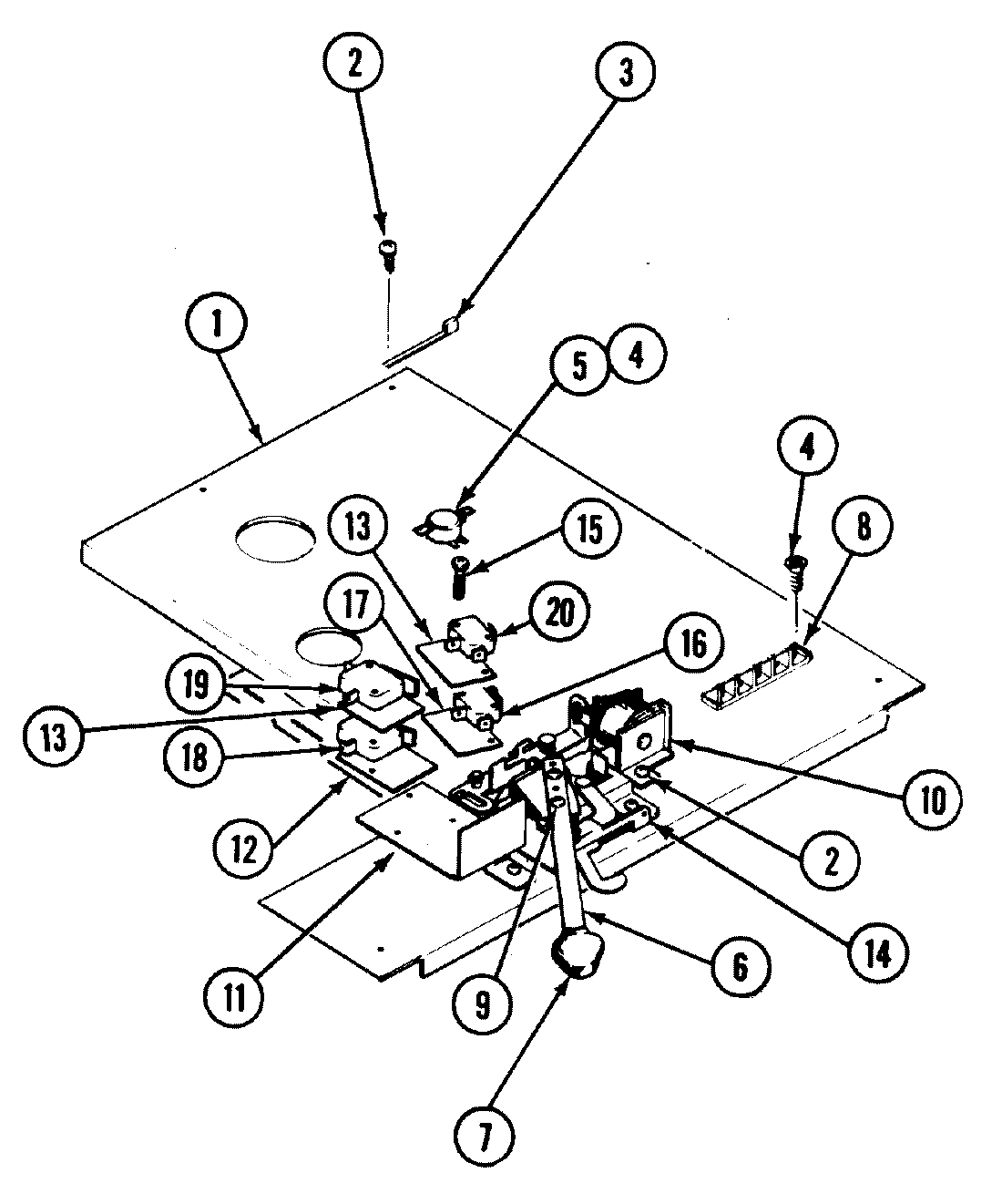
CDE8300ADB 07 – INTERNAL CONTROLSadmin2025-04-26T11:12:56+00:00CDE8300ADB 07 – INTERNAL CONTROLS ProductsPositionProduct1MAY 7046692WP90767 Whirlpool Screw3MAY 7016784WP12990527 Whirlpool Microwave Screw5MAY Y7025486MAY Y7038487MAY 7016717MAY Y7039328MAY Y70275010MAY Y70252611MAY 70170612MAY Y70168612MAY 70269713MAY 70326414MAY Y70335715MAY 70280716MAY Y70236017MAY 70375017MAY Y70235018MAY Y70475219MAY 70280620MAY Y703732