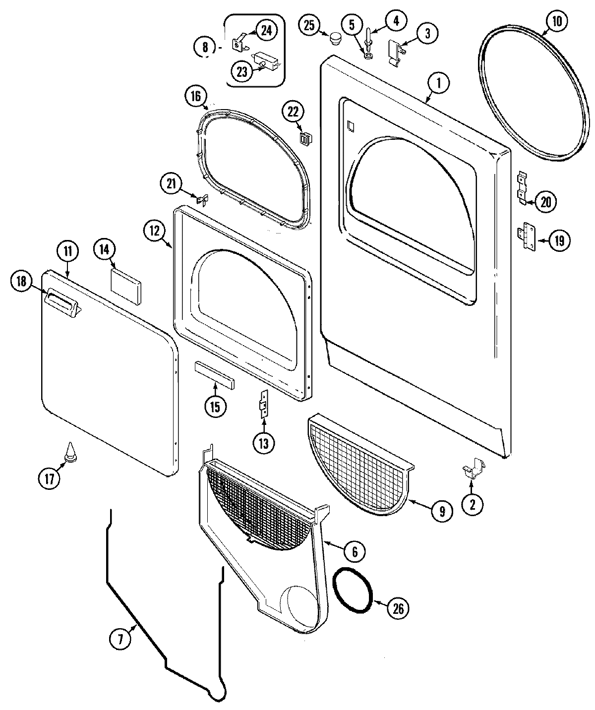
CDG7500W 03 – DOOR