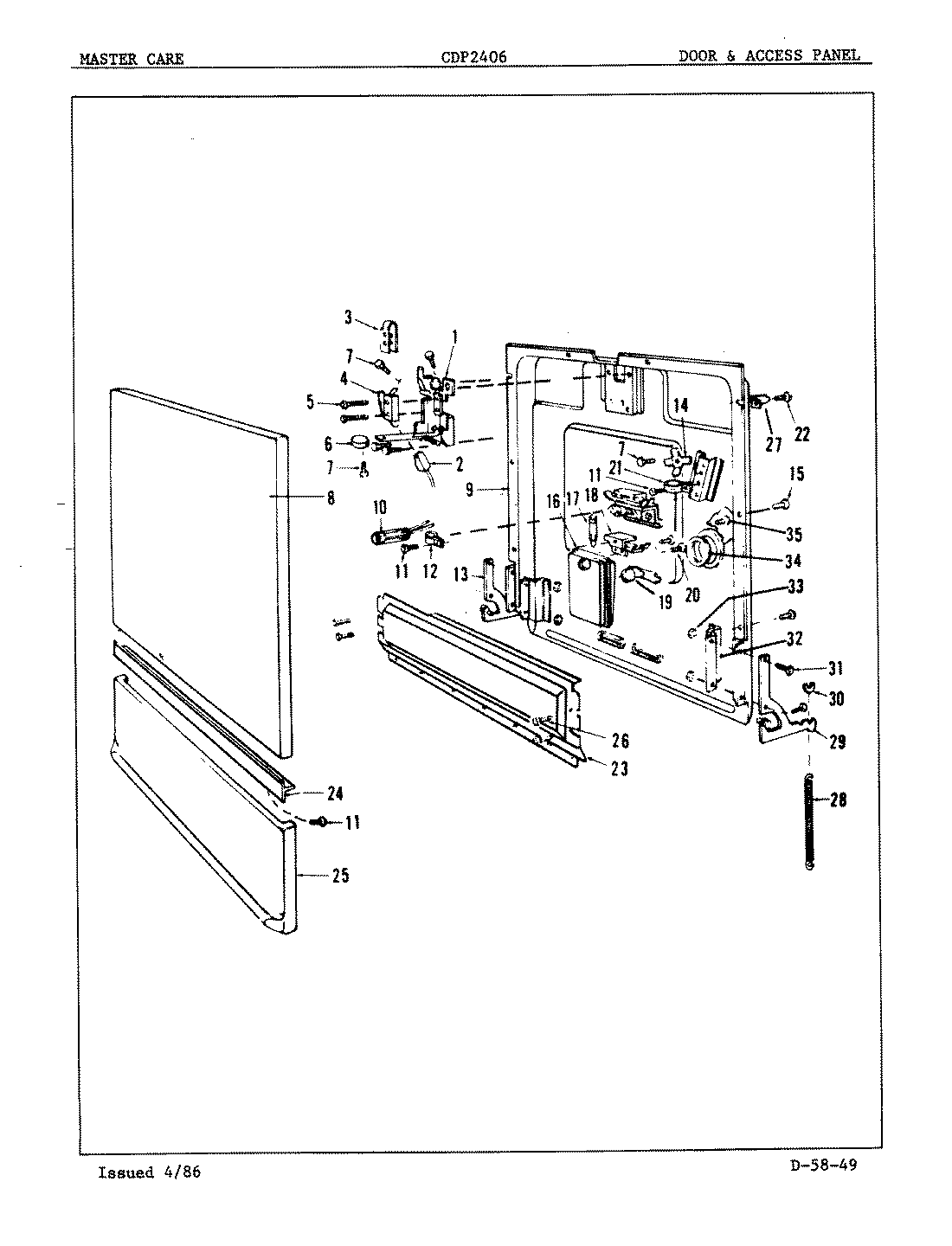
CDP2406A 03 – DOOR & ACCESS PANELadmin2025-04-26T09:25:37+00:00CDP2406A 03 – DOOR & ACCESS PANEL ProductsPositionProduct1LATCH ASM2INSULATOR3SWITCH COVER4MAY 8070435MAY 803051--6MAY 8063987MAY 8038308OUTER PANEL8MAY 8075958MAY 8076439INNER PANEL10MAY 80746211SCREW12MAY 80534013LH ARM14GROUND TERMINAL15SCREW16DISPENSER17MAY 80675718BRACKET19MAY 80684320MAY 80506321MAY 80721222MAY 80697623MAY 80704424MAY 80691225MAY 80806925MAY 80808125MAY 80808426SCREW27DOOR GUIDE28DOOR SPRING29RH ARM30SPRING PAD31MAY 80331132ARM BRACKET33MAY 80092834GROMMET35SCREW