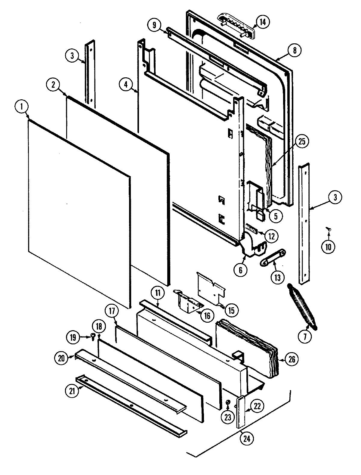
CDU20J 02 – DOOR