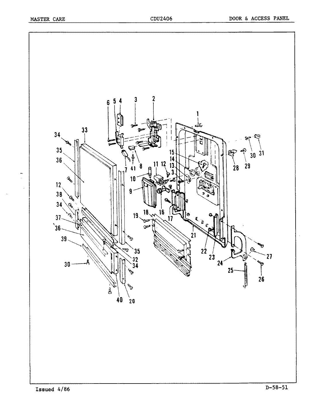
CDU2406 03 – DOOR & ACCESS PANELadmin2025-04-26T09:25:39+00:00CDU2406 03 – DOOR & ACCESS PANEL ProductsPositionProduct1SCREW2LATCH ASM3SCREW4SWITCH COVER5MAY 8070436MAY 803051--7INSULATOR8MAY 8063989DISPENSER10MAY 80675711BRACKET12MAY 80750113GROUND TERMINAL14GROMMET15SCREW16MAY 80684316MAY 80534017LH ARM18MAY 80704419SCREW20RH TRIM21INNER PANEL22MAY 80092823ARM BRACKET24RH ARM25DOOR SPRING26MAY 80331127SCREW27SPRING PAD28DOOR GUIDE29MAY 80697630SCREW31MAY 80721232DOOR TRIM33OUTER PANEL34MAY 80778434MAY 80746235DOOR TRIM36INSERT, DOOR PANEL36MAY 80770636MAY 80764437ACCESS PNL TRIM38LH TRIM39BOTTOM TRIM40PANEL41SCREW