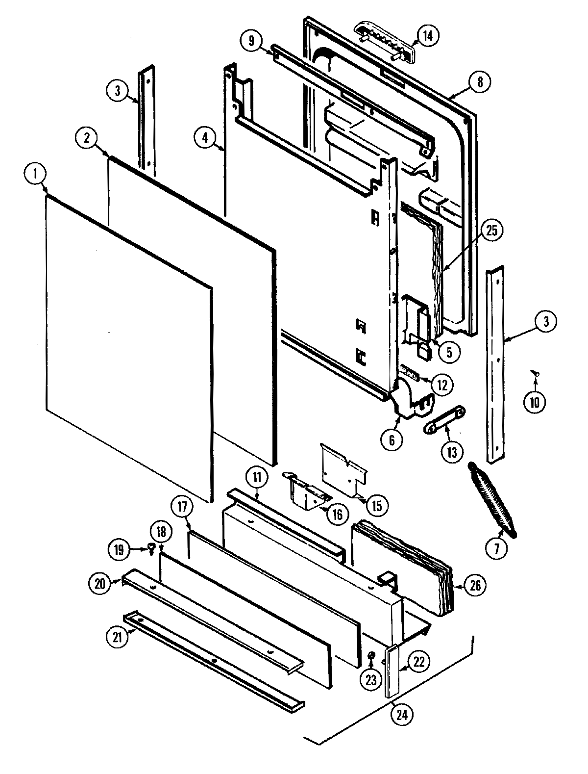
CDU5JV 02 – DOOR (CDU5JV)admin2025-04-26T09:27:01+00:00CDU5JV 02 – DOOR (CDU5JV) ProductsPositionProduct1MAY Y9131651MAY Y9129551MAY 9120242MAY Y9131843MAY 990013513MAY Y9129624MAY 9040295SCREW, No.8X1/2 HEX WASHER HEAD5MAY Y9126666MAY 9030706MAY 9030716MAY 990010757WP912652 Whirlpool Dishwasher Spring8MAY Y9129189MAY Y9131789MAY Y91309310912619 Whirlpool Dishwasher Trim Screw P-111MAY 9900118811MAY 91263612WPW10117748 Whirlpool Dishwasher Insulation Pad13WP912653 Whirlpool Dishwasher Door Spring Link14MAY Y91291014WPY912620 Whirlpool Dishwasher Screw15MAY 91264115MAY 9900113116WP6-912366 Whirlpool Dishwasher Screw16MAY 9900113216SCREW, ACCESS PANEL16MAY 91264217MAY 91252518MAY Y91316419WP912618 Whirlpool Dishwasher Screw19MAY 91236520MAY 91295621MAY Y91295722MAY 9900136422MAY 91295823MAY 21487224MAY 90367225MAY Y91266926MAY Y912836