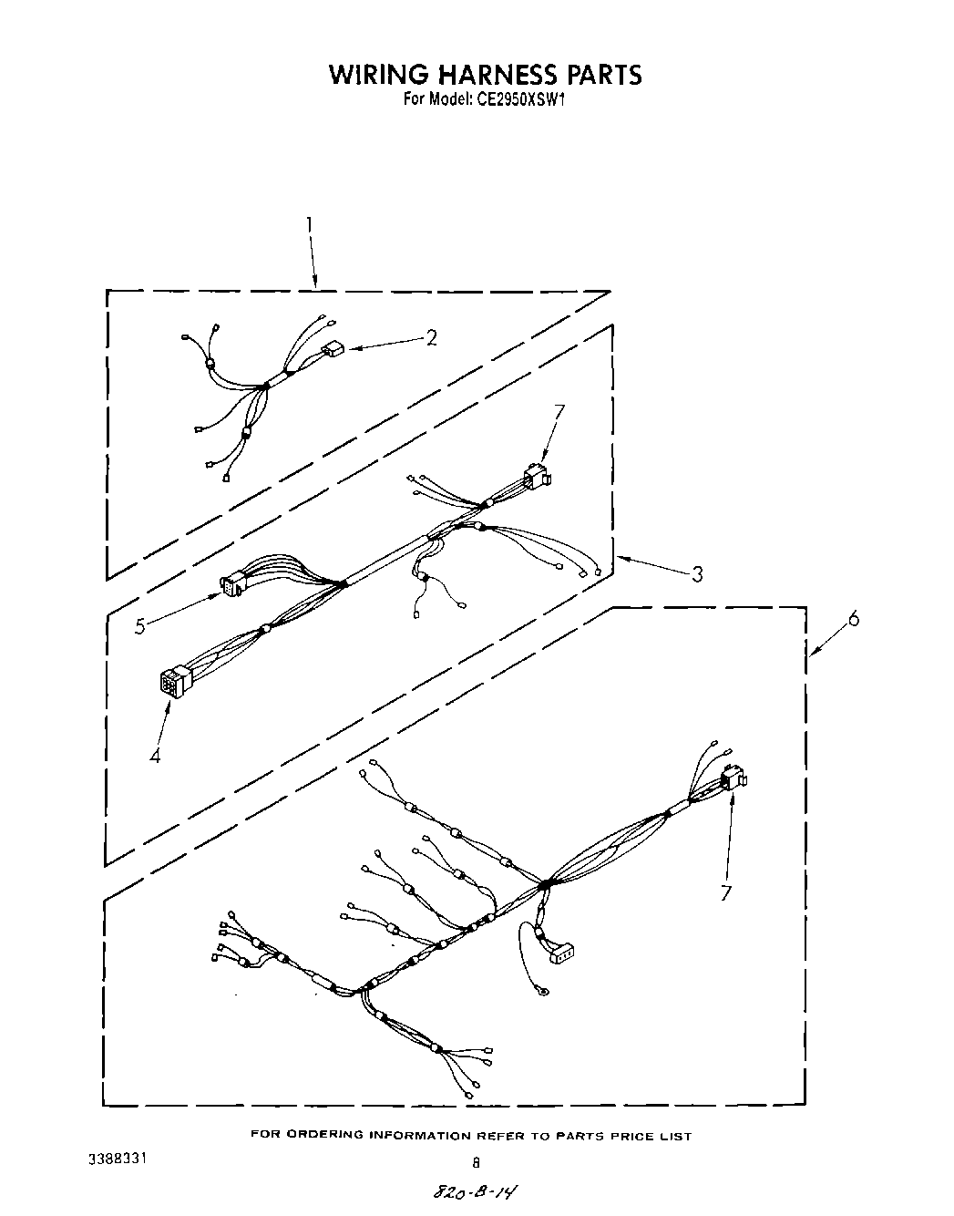
CE2950XSW1 05 – SECTIONadmin2025-04-26T12:16:32+00:00CE2950XSW1 05 – SECTION ProductsPositionProduct1Harness, Timer2Receptacle, Latching (2-Way) (Uses Terminal 94614)3Harness, Wiring (Upper)4Cap, Terminal (6-Way) (Uses Terminal 94614)5WP717253 Whirlpool Dishwasher Connector6Harness, Wiring (Lower)7Plug, Terminal (6 Way)