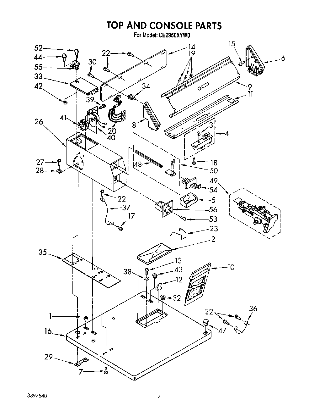
CE2950XYN0 03 – TOP AND CONSOLE