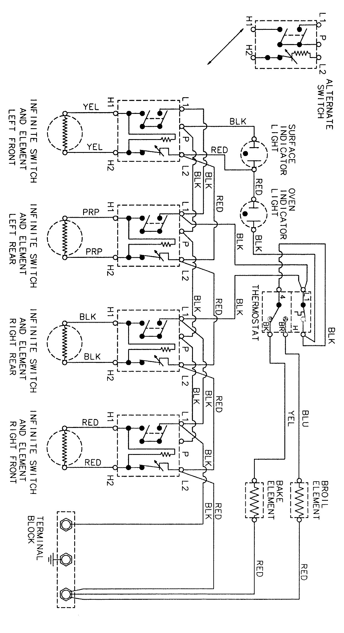
CE35000AAT 05 – WIRING INFORMATIONadmin2025-04-26T09:25:42+00:00CE35000AAT 05 – WIRING INFORMATION ProductsPositionProductNIMAY 15002207