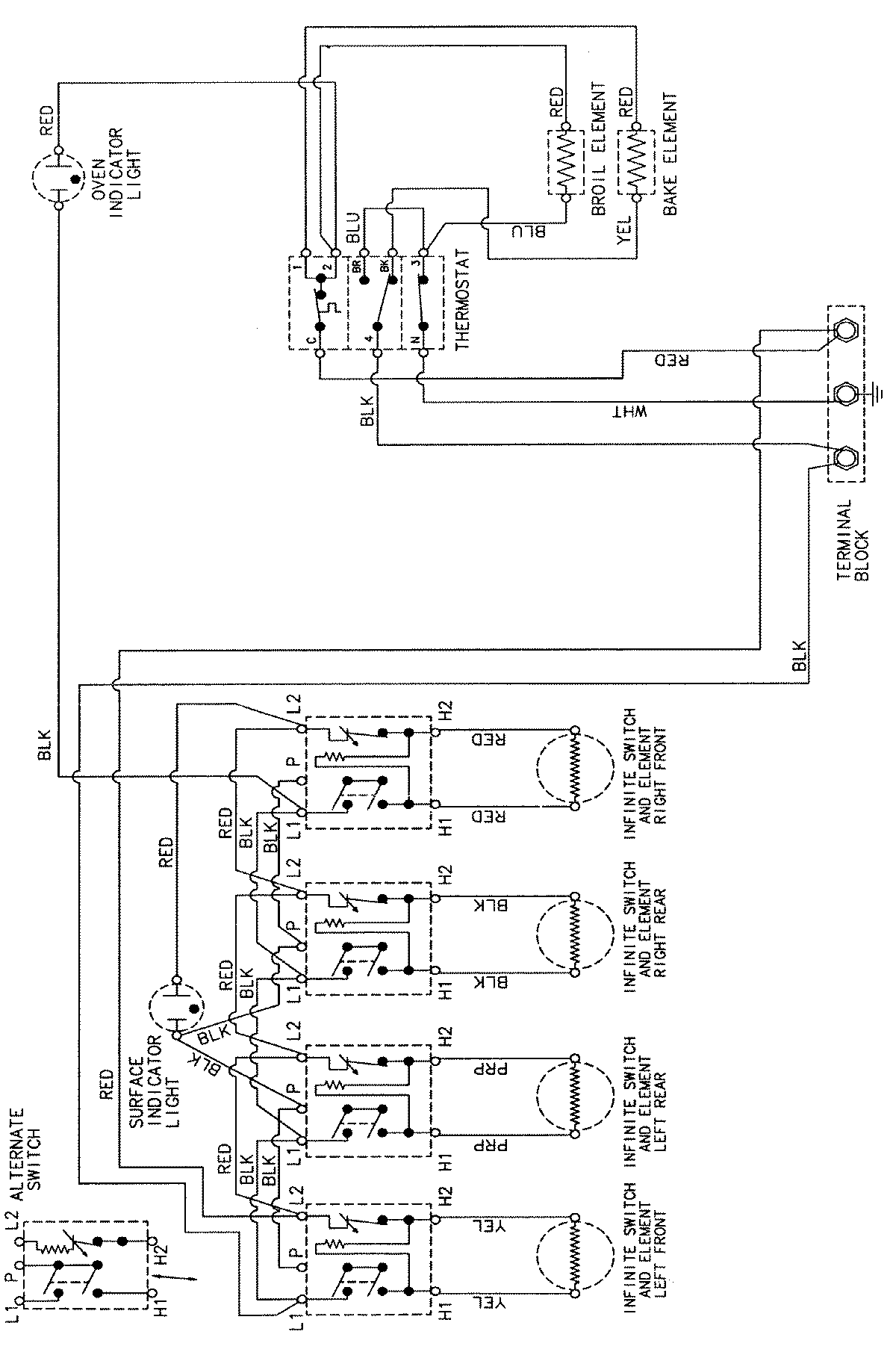
CE35100AAT 06 – WIRING INFORMATIONadmin2025-04-26T09:27:42+00:00CE35100AAT 06 – WIRING INFORMATION ProductsPositionProductNIMAY 15002208