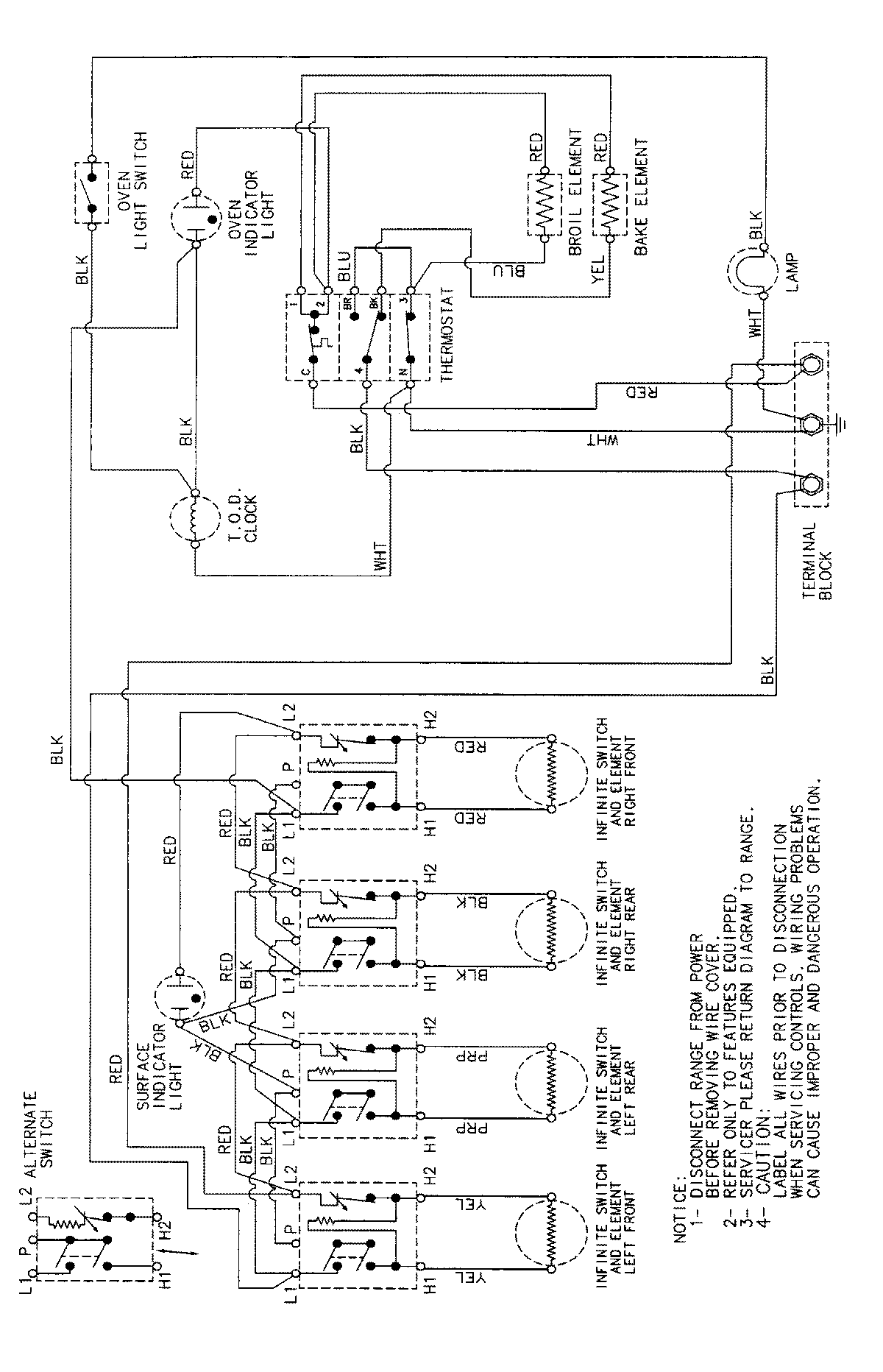
CE35111AAA 06 – WIRING INFORMATIONadmin2025-04-26T09:28:36+00:00CE35111AAA 06 – WIRING INFORMATION ProductsPositionProductNIMAY 15002214