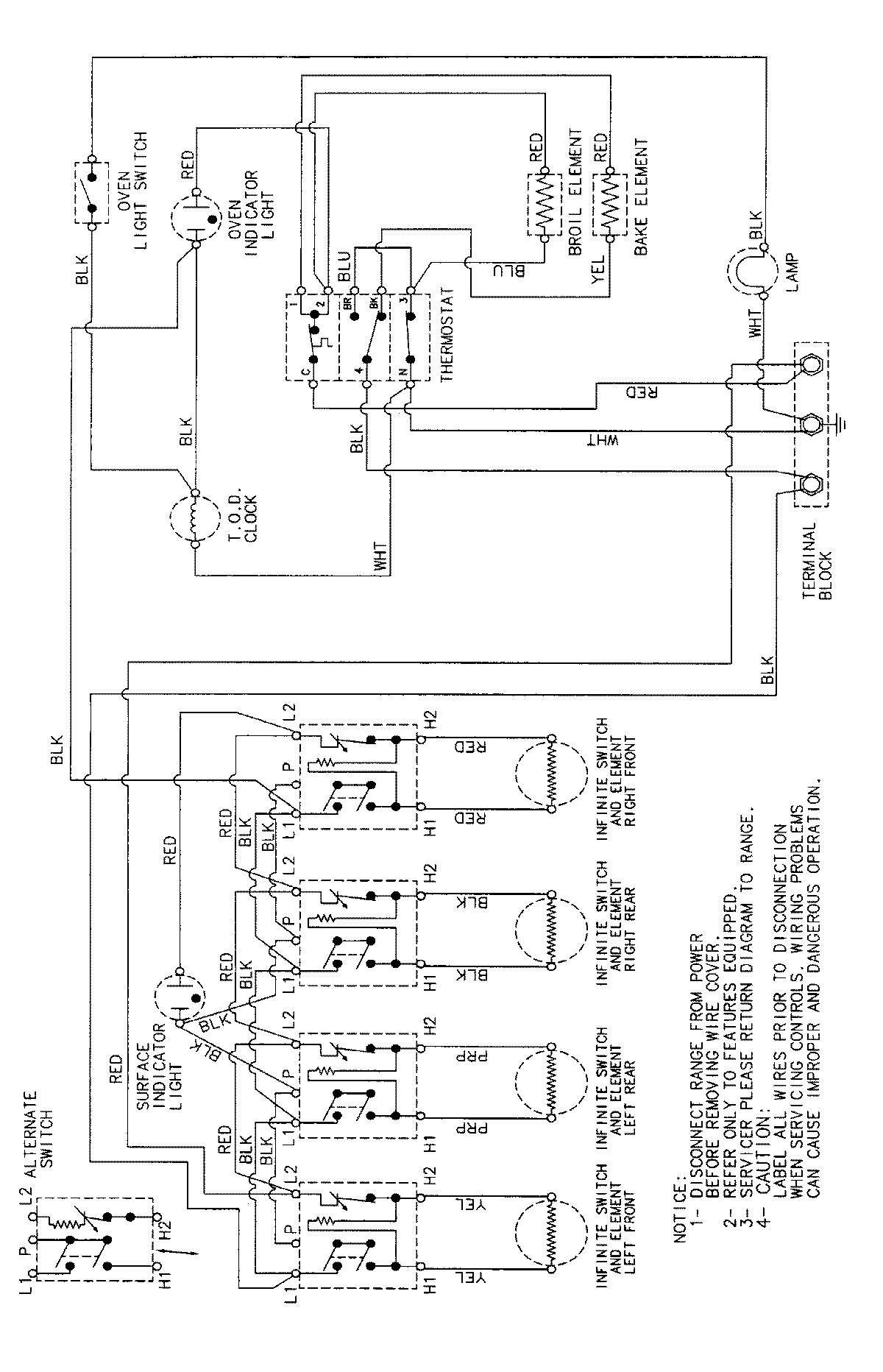
CE35111AAD 05 – WIRING INFORMATIONadmin2025-04-26T09:27:37+00:00CE35111AAD 05 – WIRING INFORMATION ProductsPositionProductNIMAY 15002214