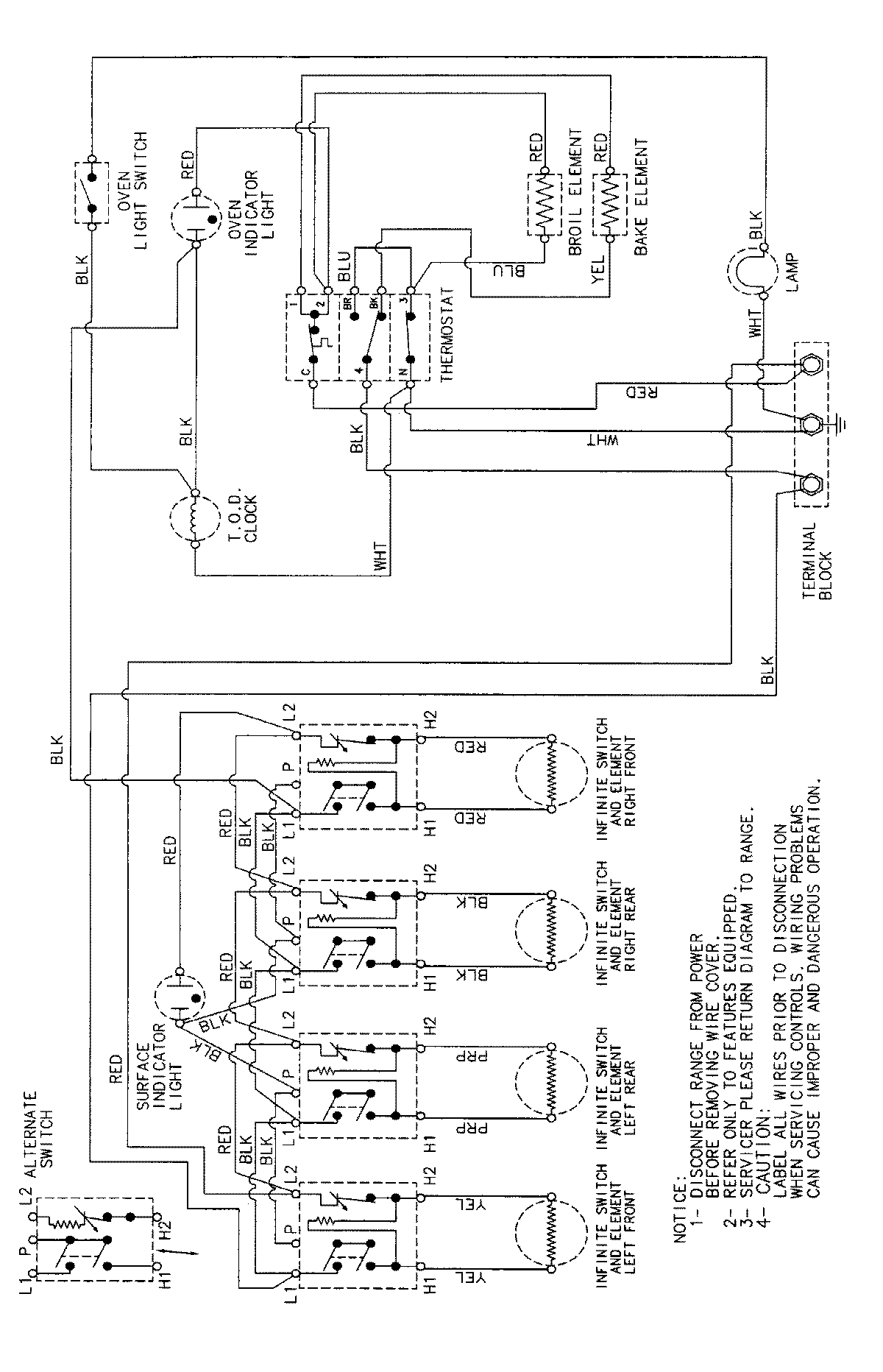
CE35111AAV 05 – WIRING INFORMATIONadmin2025-04-26T09:25:54+00:00CE35111AAV 05 – WIRING INFORMATION ProductsPositionProductNIMAY 15002214