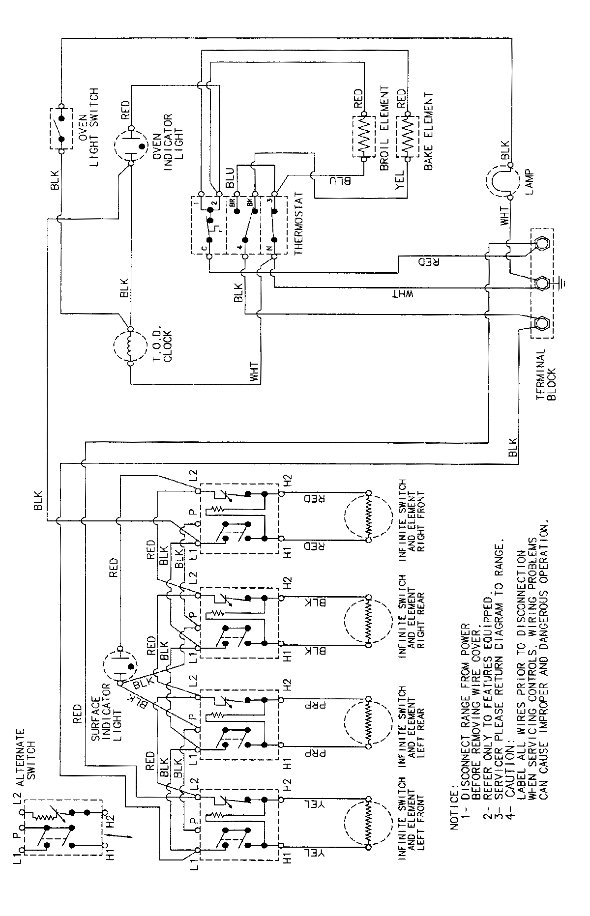
CE35111AAW 06 – WIRING INFORMATIONadmin2025-04-26T09:27:17+00:00CE35111AAW 06 – WIRING INFORMATION ProductsPositionProductNIMAY 15002214