| *00891 | SCREW, CR PAN HD SEMS, 8-32BP X 1.00 |
| *00888 | 5303300265 Frigidaire Oven Screw |
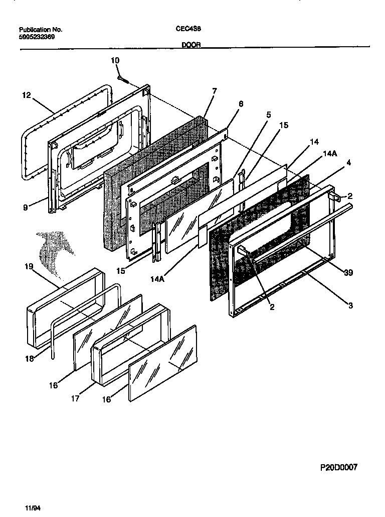
| *00889 | 5303271648 Frigidaire Oven Screw |
| 2 | 316137003 Frigidaire Range / Cooktop End Cap |
| 3 | WCI 5303209518 |
| 4 | WCI 316019706 |
| 5 | GLASS-OVEN DOOR, INNER |
| 6 | SHIELD-INSULATION |
| 7 | INSULATION-OVEN DOOR |
| 9 | WCI 5303209515 |
| 10 | WCI 5303280308 |
| 12 | 5303131601 Frigidaire Oven Seal |
| 14A | 5303208655 Frigidaire Reflector Assembly |
| 14 | REFLECTOR, ALUMINUM FOIL |
| 15 | BRACKET-GLASS MTG |
| 16 | GLASS-OVEN DOOR, HEAT BARRIER, (2) |
| 17 | WCI 5303209517 |
| 18 | SEAL-ROPE, 0.25 DIA |
| 19 | WCI 5303209511 |
| 39 | WCI 5303285070 |