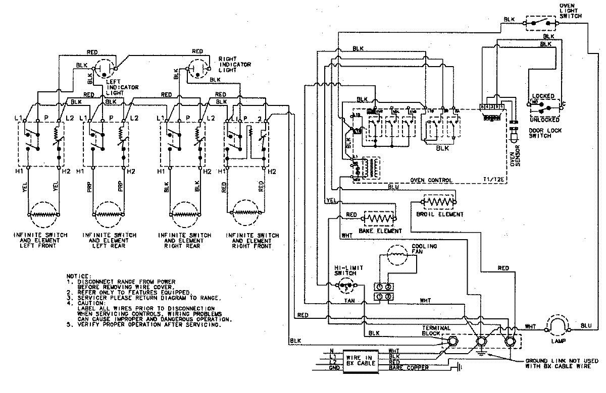
CEP3540AAA 05 – WIRING INFORMATIONadmin2025-04-26T08:57:38+00:00CEP3540AAA 05 – WIRING INFORMATION ProductsPositionProductNIMAY 15002527