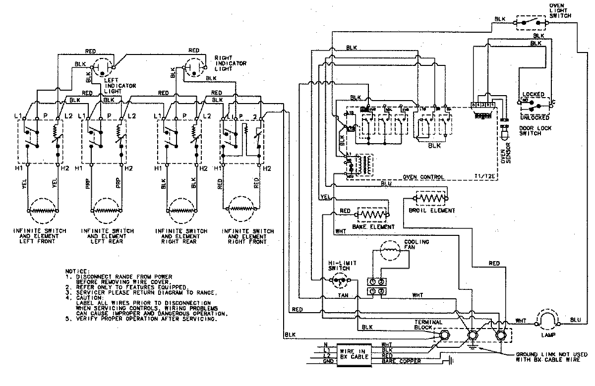
CEP3540AAQ 05 – WIRING INFORMATIONadmin2025-04-26T08:58:37+00:00CEP3540AAQ 05 – WIRING INFORMATION ProductsPositionProductNIMAY 15002527