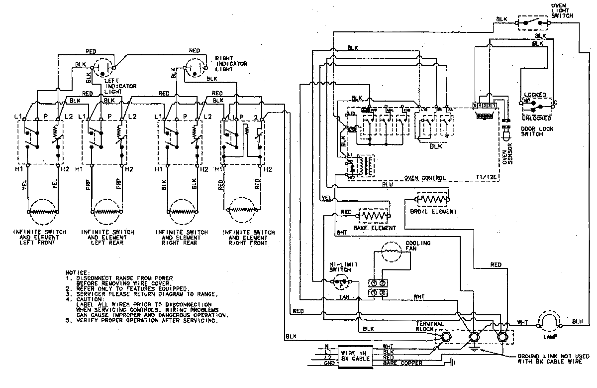
CEP3540AAW 05 – WIRING INFORMATIONadmin2025-04-26T08:58:32+00:00CEP3540AAW 05 – WIRING INFORMATION ProductsPositionProductNIMAY 15002527