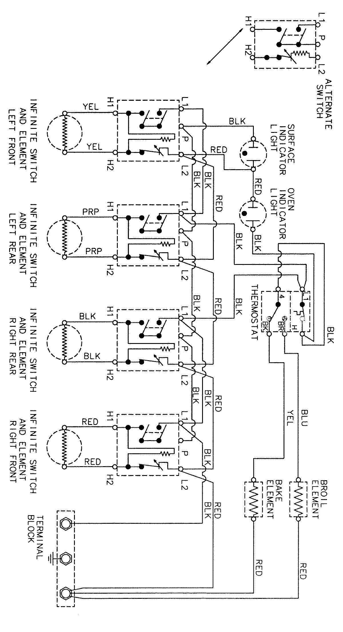
CER1110AAL 06 – WIRING INFORMATIONadmin2025-04-26T08:57:44+00:00CER1110AAL 06 – WIRING INFORMATION ProductsPositionProductNIMAY 15002207