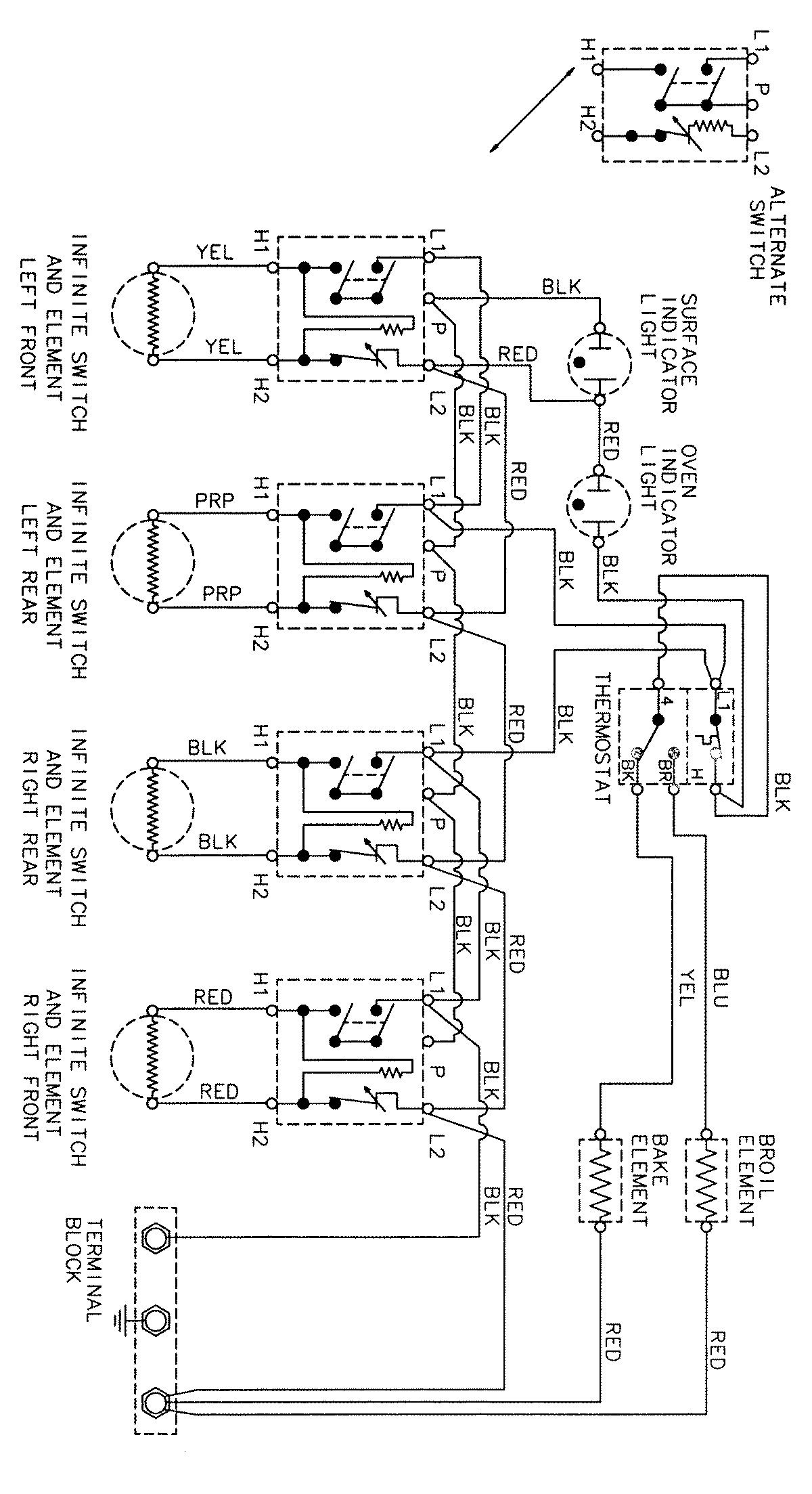
CER1110AAT 06 – WIRING INFORMATIONadmin2025-04-26T08:57:35+00:00CER1110AAT 06 – WIRING INFORMATION ProductsPositionProductNIMAY 15002207