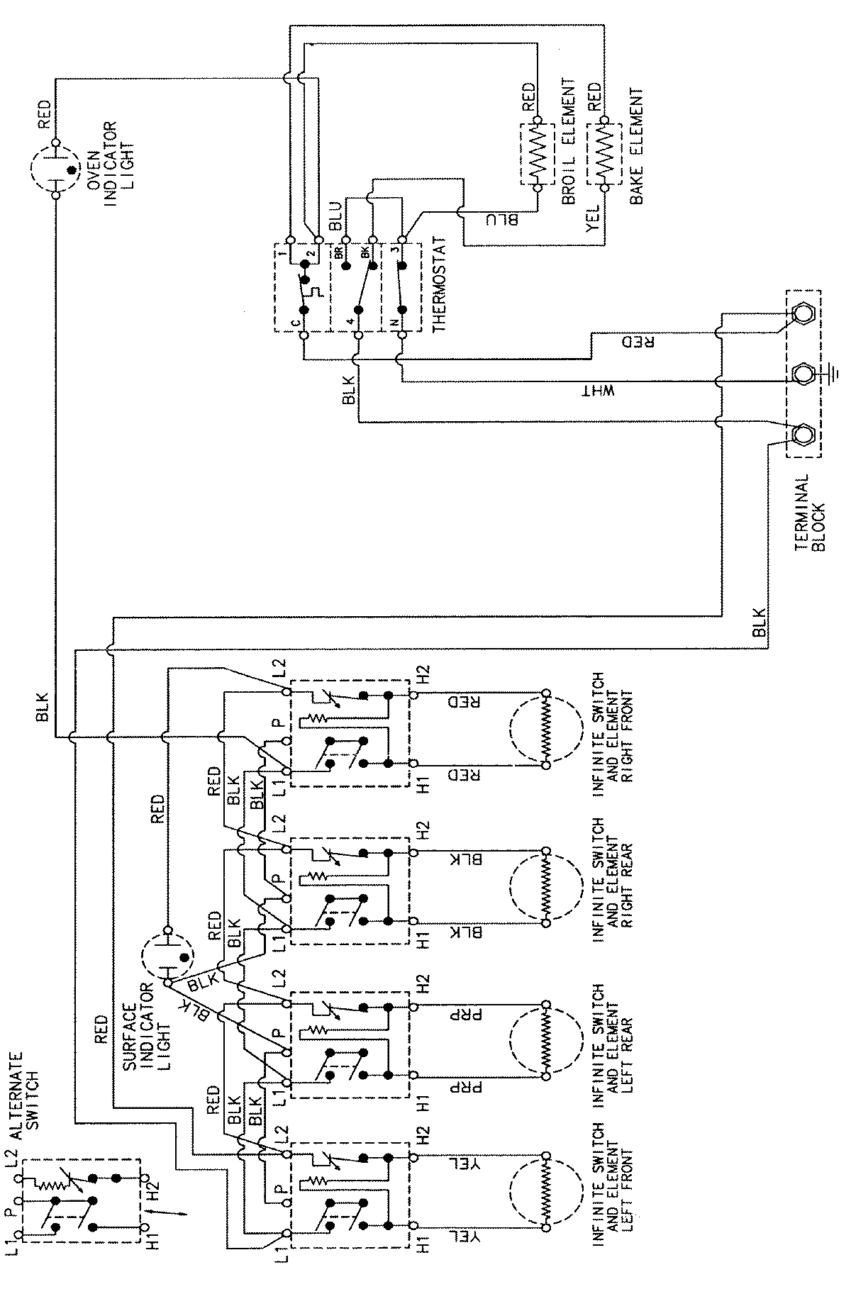
CER1140AAA 06 – WIRING INFORMATIONadmin2025-04-26T08:58:18+00:00CER1140AAA 06 – WIRING INFORMATION ProductsPositionProductNIMAY 15002208