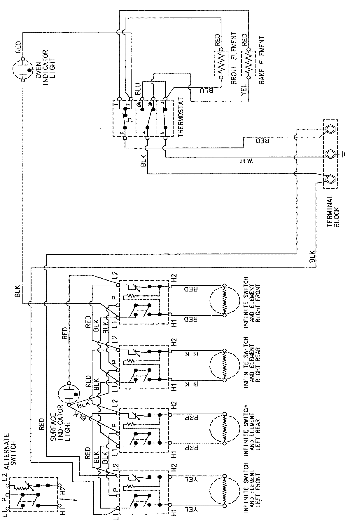
CER1140AAQ 06 – WIRING INFORMATIONadmin2025-04-26T08:58:00+00:00CER1140AAQ 06 – WIRING INFORMATION ProductsPositionProductNIMAY 15002208