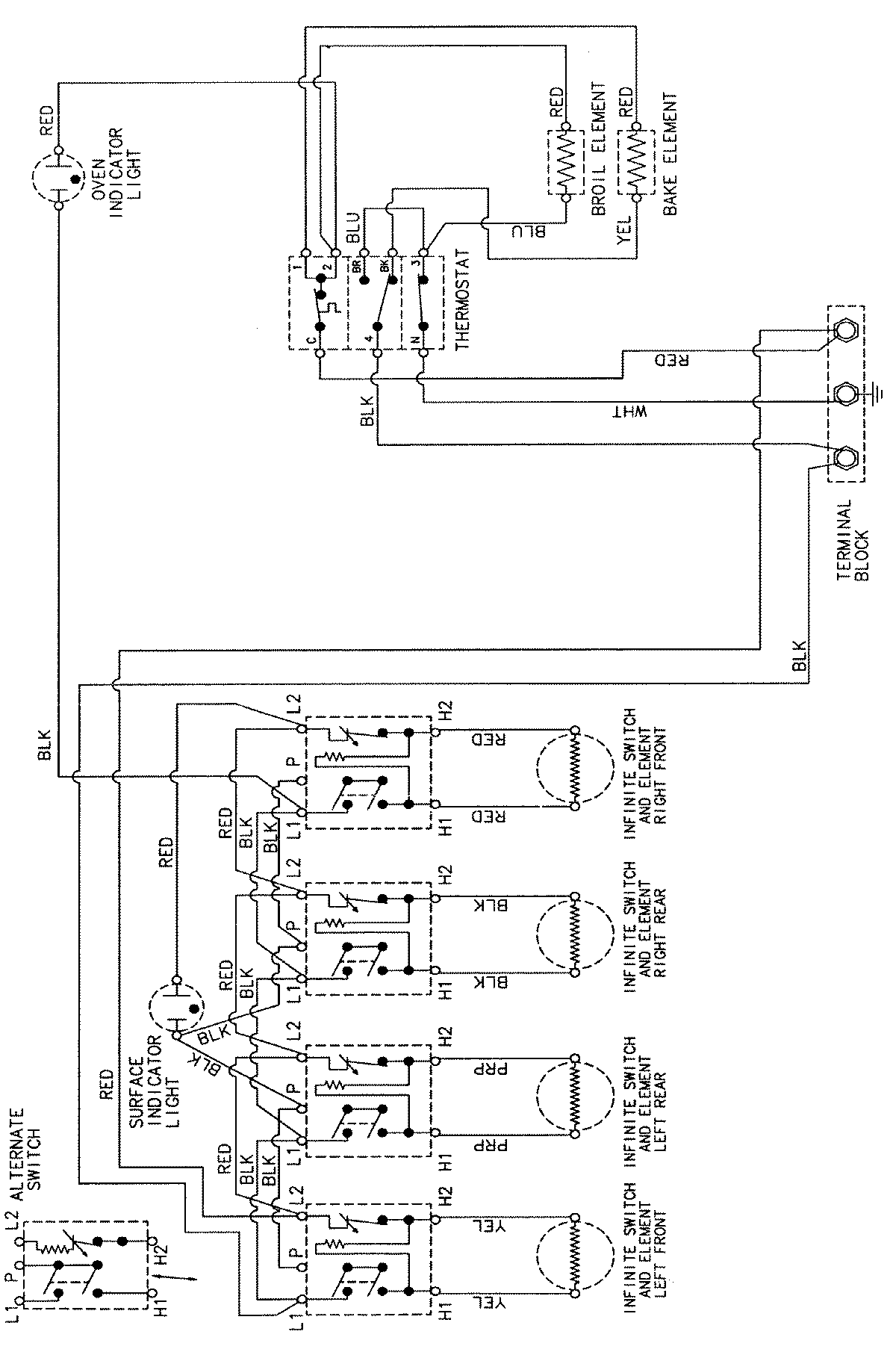
CER1150AAH 06 – WIRING INFORMATIONadmin2025-04-26T08:57:31+00:00CER1150AAH 06 – WIRING INFORMATION ProductsPositionProductNIMAY 15002208