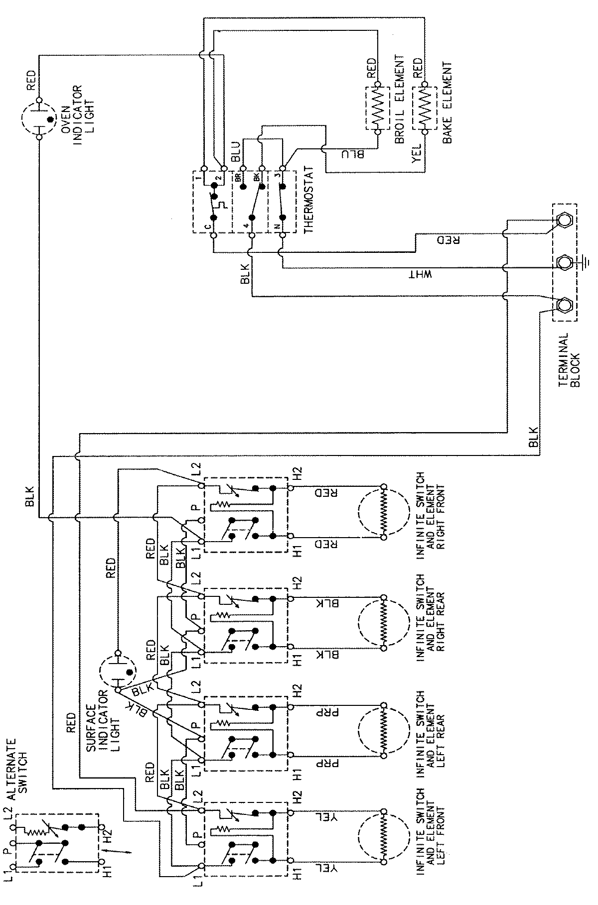
CER1150AAL 06 – WIRING INFORMATIONadmin2025-04-26T08:57:52+00:00CER1150AAL 06 – WIRING INFORMATION ProductsPositionProductNIMAY 15002208