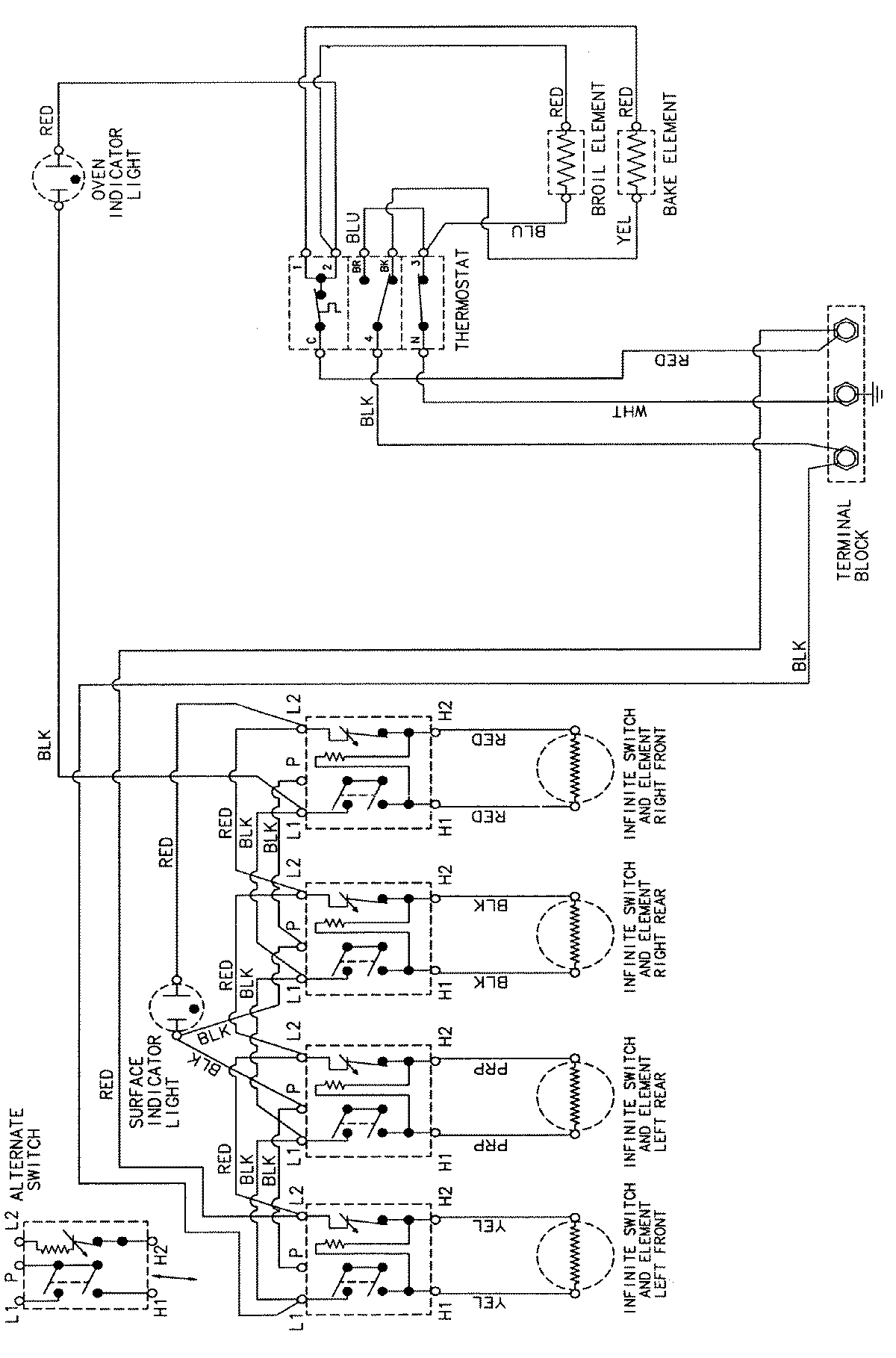
CER1160AAH 06 – WIRING INFORMATION

CER1160AAH 06 – WIRING INFORMATION

Products

PositionProduct
NIMAY 15002208