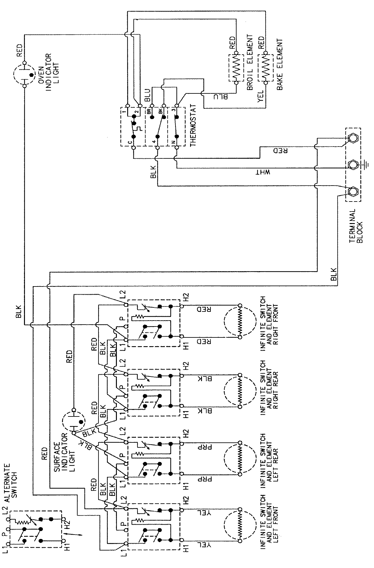
CER1160AAT 06 – WIRING INFORMATIONadmin2025-04-26T08:57:49+00:00CER1160AAT 06 – WIRING INFORMATION ProductsPositionProductNIMAY 15002208