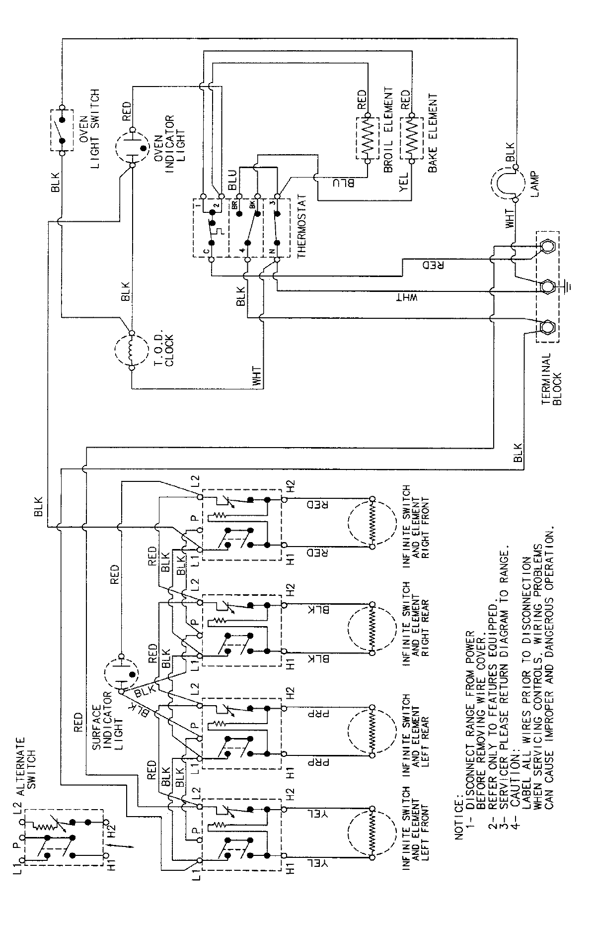
CER1350AAH 06 – WIRING INFORMATIONadmin2025-04-26T08:57:54+00:00CER1350AAH 06 – WIRING INFORMATION ProductsPositionProductNIMAY 15002214