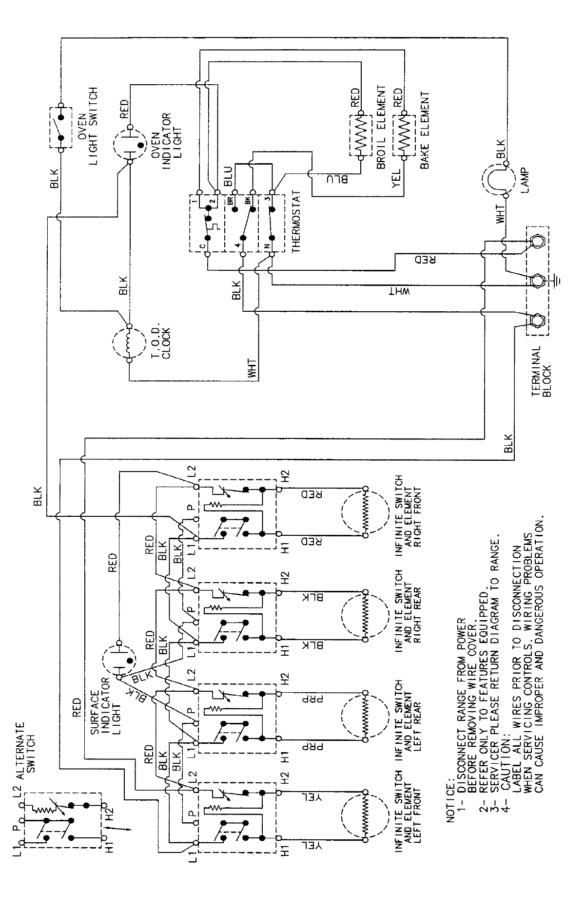
CER1350AAL 06 – WIRING INFORMATIONadmin2025-04-26T08:58:33+00:00CER1350AAL 06 – WIRING INFORMATION ProductsPositionProductNIMAY 15002214