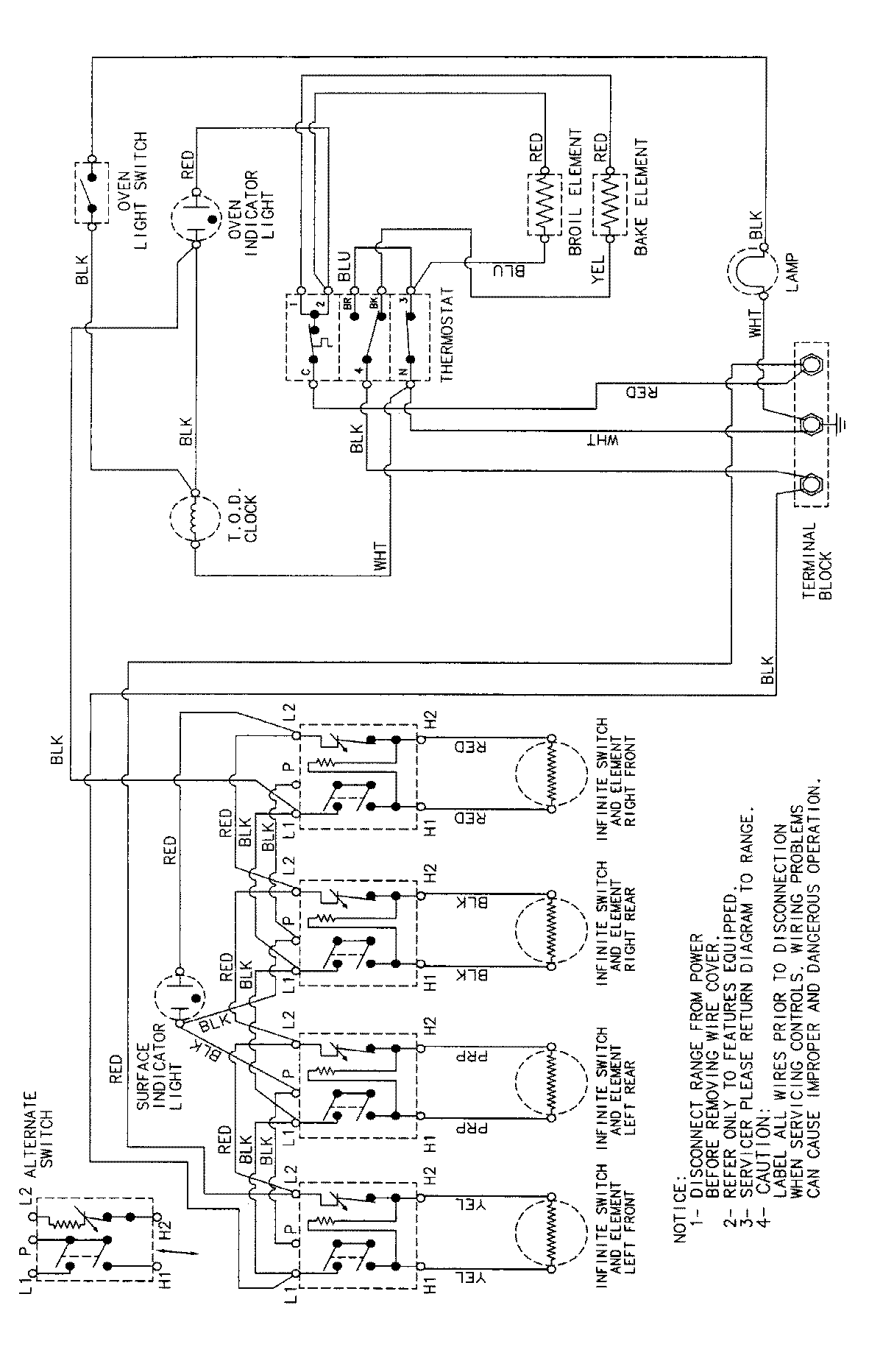
CER1360AAW 06 – WIRING INFORMATIONadmin2025-04-26T08:57:41+00:00CER1360AAW 06 – WIRING INFORMATION ProductsPositionProductNIMAY 15002214