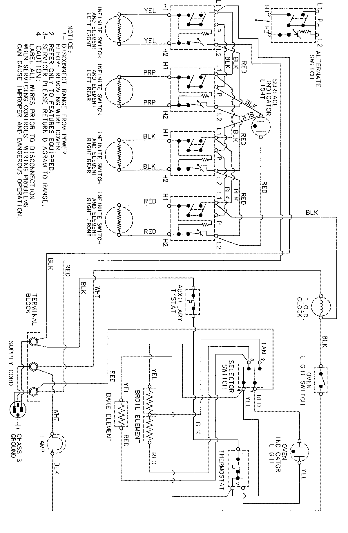
CER1360ACH 06 – WIRING INFORMATIONadmin2025-04-26T08:58:44+00:00CER1360ACH 06 – WIRING INFORMATION ProductsPositionProductNIMAY 15002289