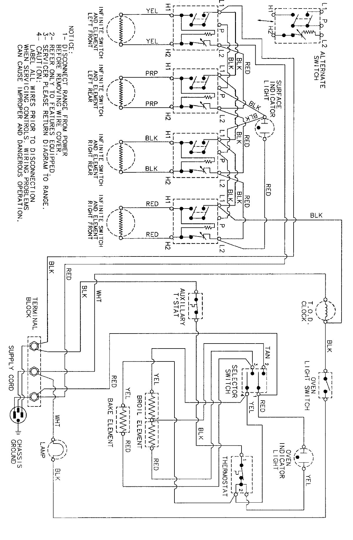
CER1360ACL 06 – WIRING INFORMATIONadmin2025-04-26T08:58:18+00:00CER1360ACL 06 – WIRING INFORMATION ProductsPositionProductNIMAY 15002289