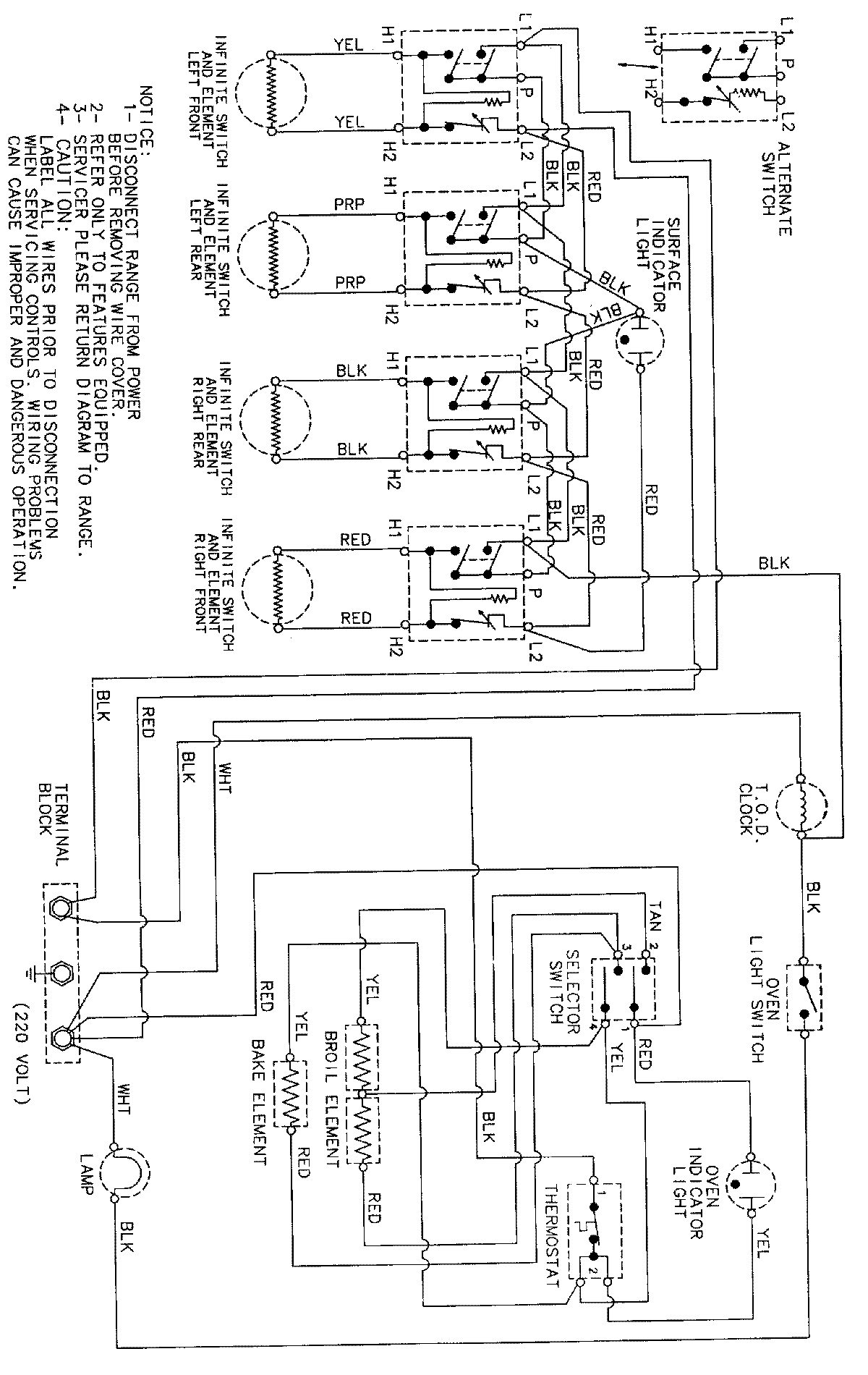
CER1360AGW 06 – WIRING INFORMATIONadmin2025-04-26T08:57:35+00:00CER1360AGW 06 – WIRING INFORMATION ProductsPositionProductNIMAY 15002340