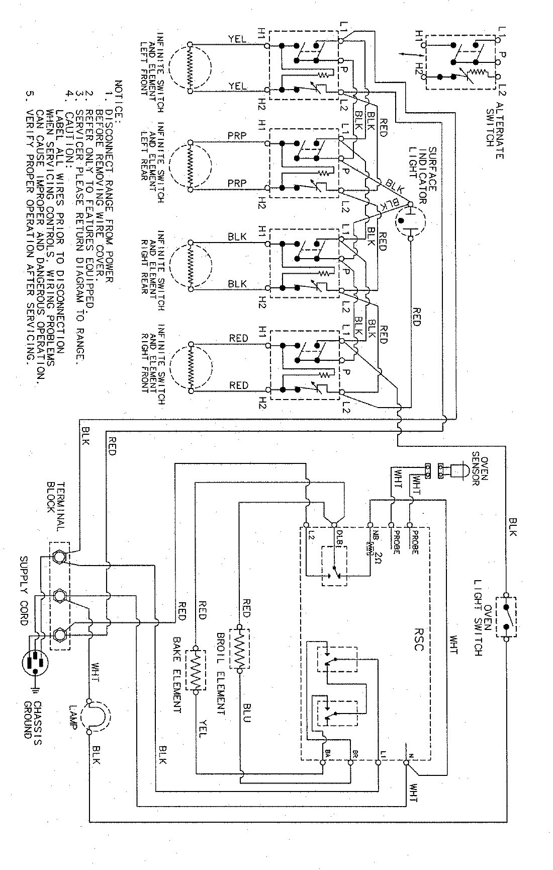
CER1360BCW 06 – WIRING INFORMATIONadmin2025-04-26T08:57:42+00:00CER1360BCW 06 – WIRING INFORMATION ProductsPositionProductNIMAY 15002698