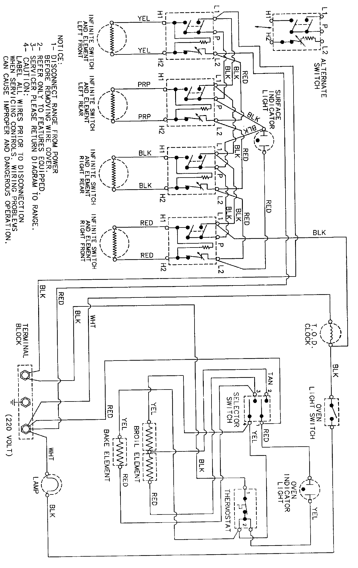
CER2350AGH 06 – WIRING INFORMATION

CER2350AGH 06 – WIRING INFORMATION

Products

PositionProduct
NIMAY 15002340