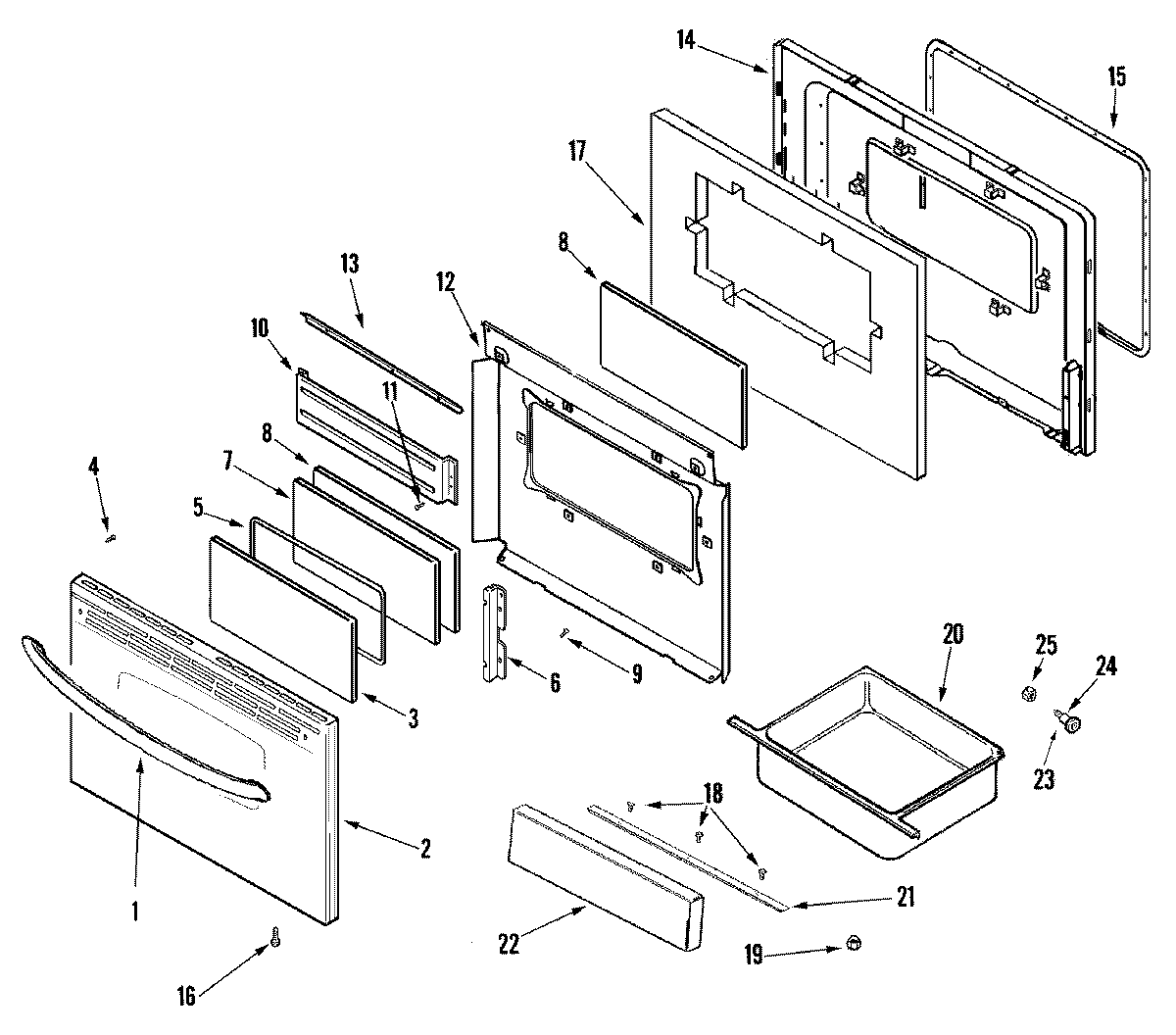
CER3725AAS 03 – DOOR/DRAWER (STL)