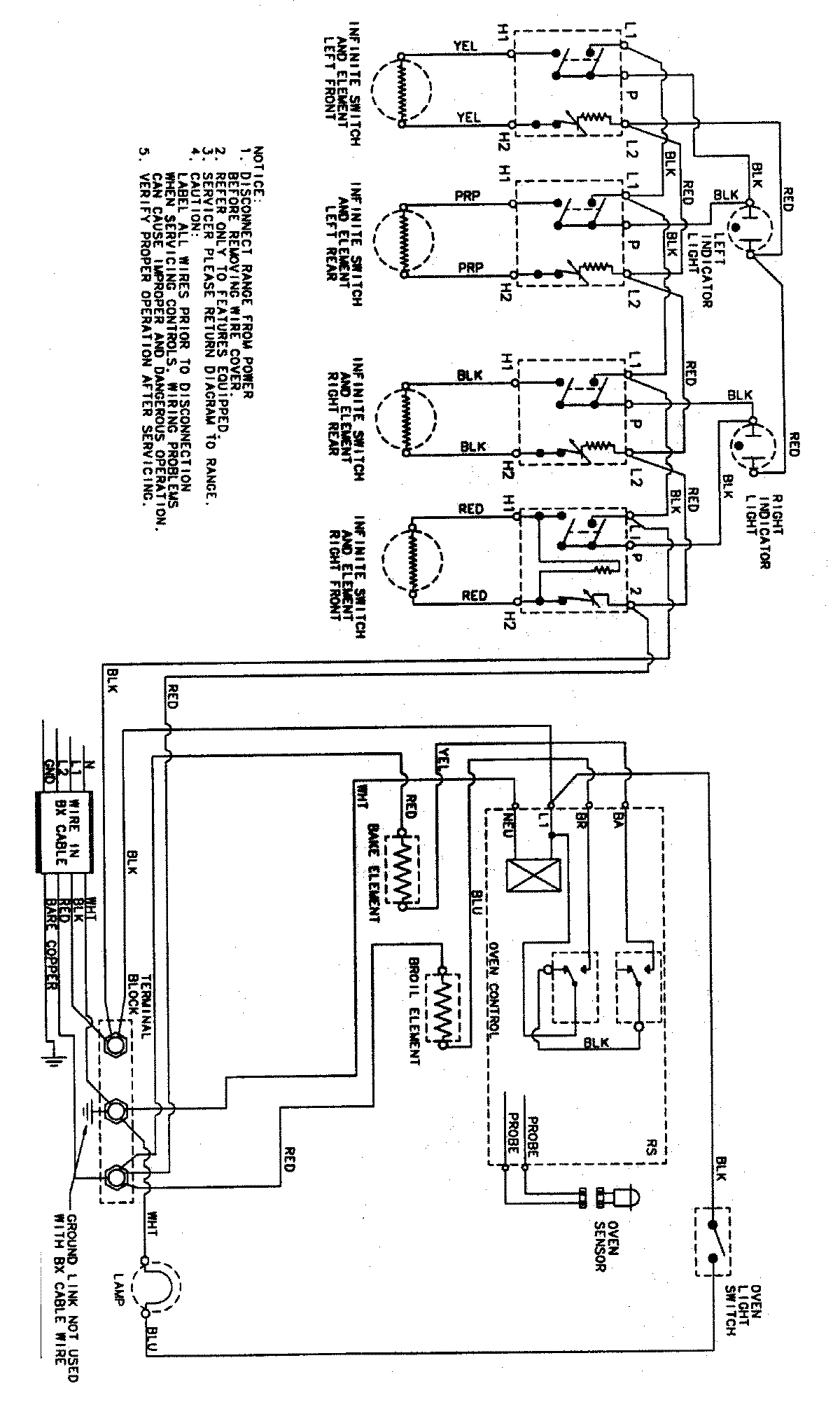
CES1350AAH 05 – WIRING INFORMATIONadmin2025-04-26T08:57:57+00:00CES1350AAH 05 – WIRING INFORMATION ProductsPositionProductNIMAY 15002542NIMAY 15003352