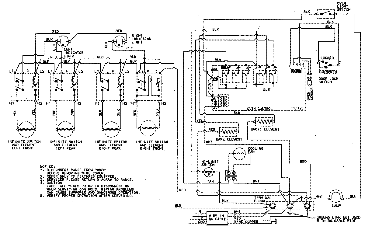
CES3540AAW 05 – WIRING INFORMATIONadmin2025-04-26T08:58:57+00:00CES3540AAW 05 – WIRING INFORMATION ProductsPositionProductNIMAY 15002527NIMAY 15003354