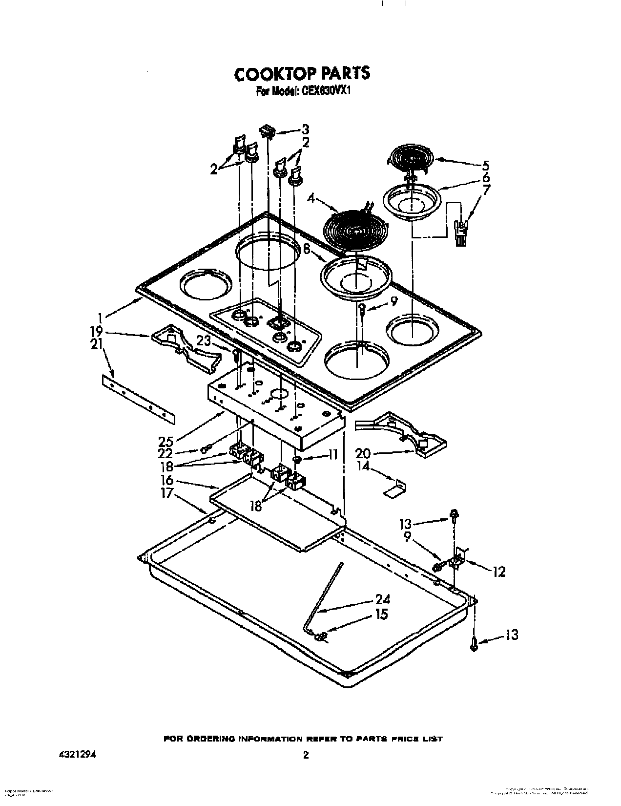
CEX630VX1 02 – COOKTOP