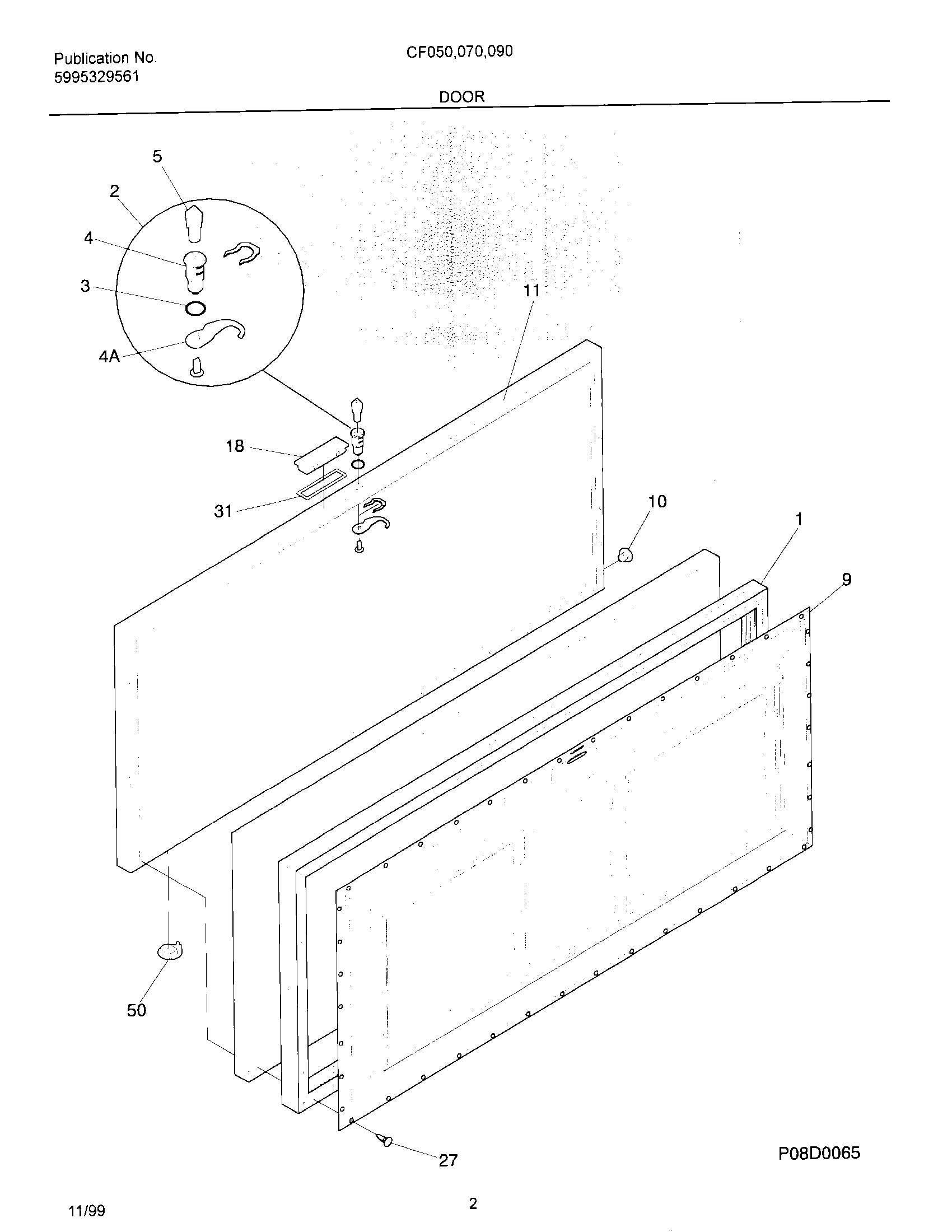
CF050 03 – DOOR