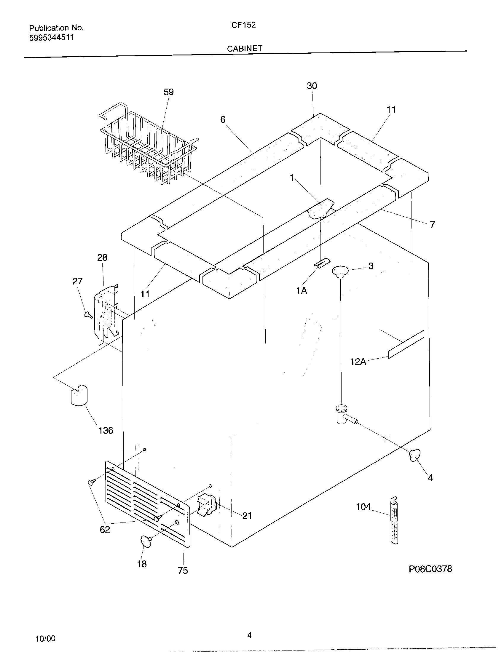
CF152 05 – CABINET