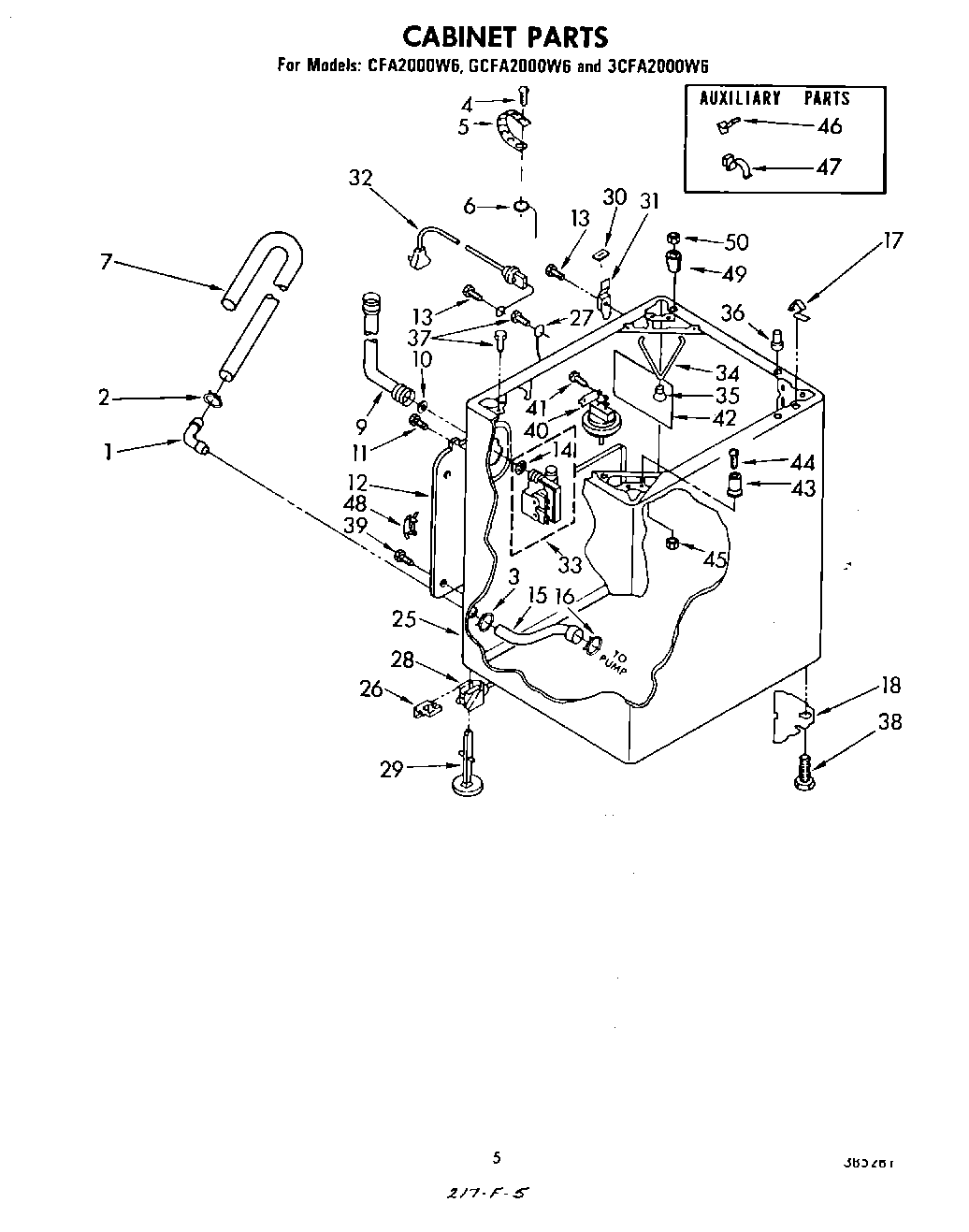
CFA2000W6 04 – CABINET